EasyManua.ls Logo

Shinko PCD-33A - Program Pattern Selection and Setting

Shinko PCD-33A
64 pages
Print Icon
To Next Page IconTo Next Page
To Next Page IconTo Next Page
To Previous Page IconTo Previous Page
To Previous Page IconTo Previous Page
Loading...
25
PTN
PV
Actual temp.
STEP
SV
PTN
PV
Actual temp.
STEP
SV
PTN
PV
Actual temp.
STEP
SV
PTN
PV
Actual temp.
STEP
SV
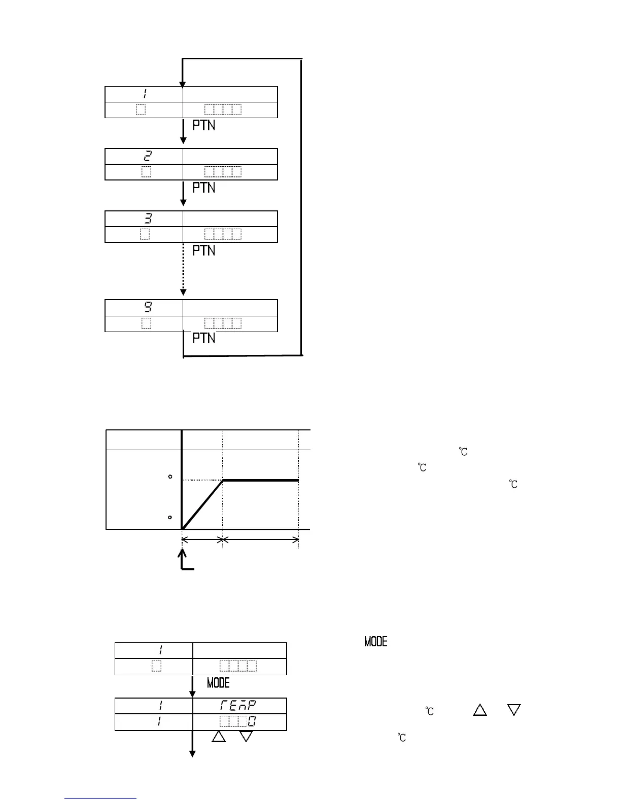
(4) Pattern (step SV/Time) setting mode
This mode is available for the currently selected program pattern number.
The following is an example of program pattern setting and its procedures.
This program pattern shows that the
temperature rises to 200 for 1 hour
and stays at 200 for 2 hours.
In this case, Step 1 step SV is 200
and Step 1 step time is 1 hour.
(Fig.6.2-1)
[Program standby mode or program control run mode]
Press the key.
Step 1 step SV setting mode is selected.
Step 1 step SV setting
Set the step SV to 200 using or key.
Setting range: SV low limit to SV high limit
, Default value: 0
Program pattern 1 is selected.
Program pattern 2 is selected.
Program pattern 3 is selected.
Program pattern 9 is selected.
Step number
1 2
200
0
1:00 2:00
C
C
Program control run
PTN
PV
Actual temp.
STEP
SV
PTN
PV
STEP
SV

Table of Contents

Related product manuals