EasyManua.ls Logo

Siemens SIRIUS 3RW44 - Page 63

Siemens SIRIUS 3RW44
255 pages
To Next Page IconTo Next Page
To Next Page IconTo Next Page
To Previous Page IconTo Previous Page
To Previous Page IconTo Previous Page
Loading...
Commissioning
SIRIUS 3RW44 System Manual
GWA 4NEB 535 2195-02 DS 04
5-19
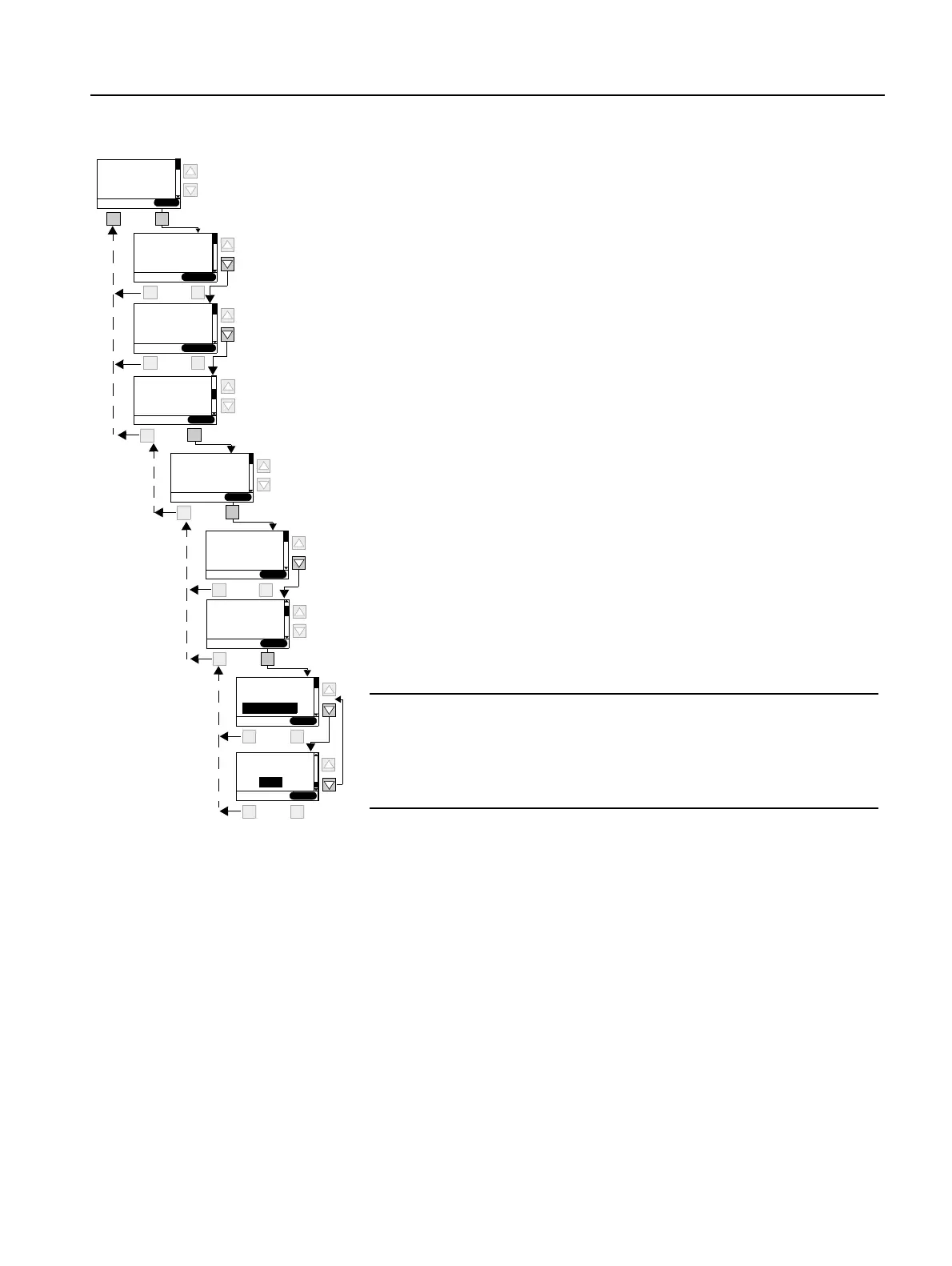
"Motor heating" starting mode
Figure 5-13:"Motor heating" starting mode
Motor thermal capacity
Caution
May lead to damage to property.
The "Motor heating" starting mode is not a continuous operating mode. The
motor must be equipped with a temperature sensor (Thermoclick/PTC) to
ensure motor protection. The motor model with integrated electronic motor
overload protection is not suitable for this kind of operation.
change
ESC
Starting mode
1
select
ESC
Starting
2
OK
settings
Motor heating
OK
change
ESC
Motor ther-
10
OK
mal capacity
select
ESC
Motor 1
1
select
ESC
Parameter
1
set 1
select
ESC
Settings
3
OK
Display mea-
SIEMENS
Menu
3RW44
1
sured value
ESC
ESC OK
OK
select
1
Status display
select
2
ESC OK
OK
OK
OK
OK
Adjustable
from ... to
10 ... 100 %
20 %

Table of Contents

Other manuals for Siemens SIRIUS 3RW44

Related product manuals