EasyManua.ls Logo

Skyjack SJ1044 TH - Check Hydraulic Oil Level

Skyjack SJ1044 TH
206 pages
Print Icon
To Next Page IconTo Next Page
To Next Page IconTo Next Page
To Previous Page IconTo Previous Page
To Previous Page IconTo Previous Page
Loading...
130
SJ1044 TH, SJ1044 THS, SJ1056 TH, SJ1056 THS, SJ1256 THS
230790ABA
Section 5 – Procedures 10 Hour or Daily Routine Maintenance
NOTE
SJ1044 TH/THS, SJ1056 TH/THS and SJ1256
THS telehandlers are equipped with a two-stage
air filter system; which consists of a primary filter
element & a secondary safety element. Inspect
the condition of both the primary and safety
elements.
IMPORTANT
The primary element can be replaced or cleaned.
The secondary element cannot be cleaned and
must be replaced only.
NOTE
For maximum engine protection, replace the
secondary element after every third cleaning of
the primary element or annually.
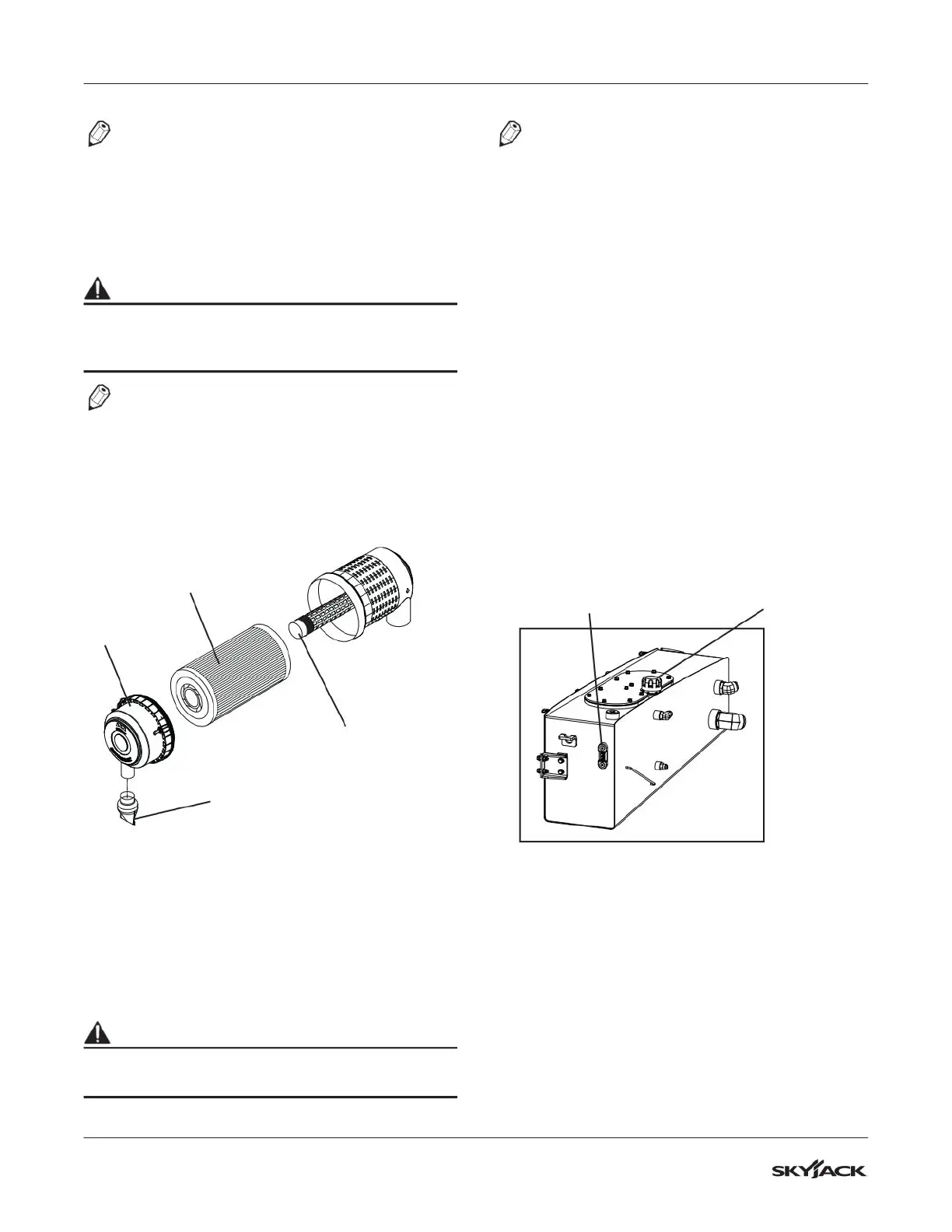
1. Undo latches and pull cover outward to remove.
Air Cleaner
Cover
Secondary
Filter
Element
Vaccuator
Valve
Primary
Filter
Element
Figure 06 Engine Air Cleaner
2. Remove the primary air cleaner element. Clean
or replace as required.
3. With the Secondary element in place, clean
inside the housing and the cover with a damp
cloth.
CAUTION
Never use compressed air on an air filter. Paper
elements should not be “washed”.
NOTE
Secondary or safety element should not be
removed unless it is being replaced.
Replace the secondary element if:
Examination reveals tears or perforations in the
safety element.
The primary element has been replaced three
times or the element has been in service one
year.
5.2-5 Check Hydraulic Oil Level
Maintaining the hydraulic components and
hydraulic oil at the proper level are essential to good
performance and service life of the telehandler.
The telehandler must be on level ground and all
cylinders retracted when checking oil level.
Refer to oil sight gauge at rear of tank to check that
the hydraulic fluid is between MAX and MIN.
Hydraulic Tank
Sight Gauge
Hydraulic Tank
Filler
Figure 07 Hydraulic Oil Tank Sight Gauge
1. Check hydraulic Oil Tank Sight Gauge.
2. Add clean hydraulic oil through the tank filler
as required. Refer to Table 2.3 for hydraulic oil
specifications.

Table of Contents

Other manuals for Skyjack SJ1044 TH

Related product manuals