EasyManua.ls Logo

Skyjack SJ1044 TH - 10 Check Boom Chains Tension

Skyjack SJ1044 TH
206 pages
Print Icon
To Next Page IconTo Next Page
To Next Page IconTo Next Page
To Previous Page IconTo Previous Page
To Previous Page IconTo Previous Page
Loading...
142
SJ1044 TH, SJ1044 THS, SJ1056 TH, SJ1056 THS, SJ1256 THS
230790ABA
Section 5 – Procedures 250 Hour or Quarterly Routine Maintenance
13. Measure the slide shoe clearance at the top of
each boom section. Clearance should range not
exceed 0.025 in. (0.63 mm).
14. Start the machine and raise the boom high
enough to lift the forks off the ground.
15. Shut off the engine.
16. Measure the side slide pads clearance using the
same procedure as outlined in step 8 for the side
slide pads at the front of the boom.
17. If clearances are within 0.08 in. (2 mm), install the
rear boom cover.
NOTE
If any of the clearances are greater than 0.08 in.
(2 mm), shim adjustment or replacement of the
slide pads may be required. Refer to Section
5.5-3.
5.4-10 Check Boom Chains Tension
Proper adjustment of the chains at this interval
minimizes the risk of chain failure which could cause
extensive damage to other boom components and
require extensive labor hours to repair.
NOTE
If the chains make noise such as banging on the
interior boom parts, or the chain slack identified
below is more than the maximum acceptable
value, adjustment is necessary.
1. Park telehandler on firm level ground and apply
parking brake.
2. Fully extend the boom making sure the extend
chain on top of boom assembly is visible.
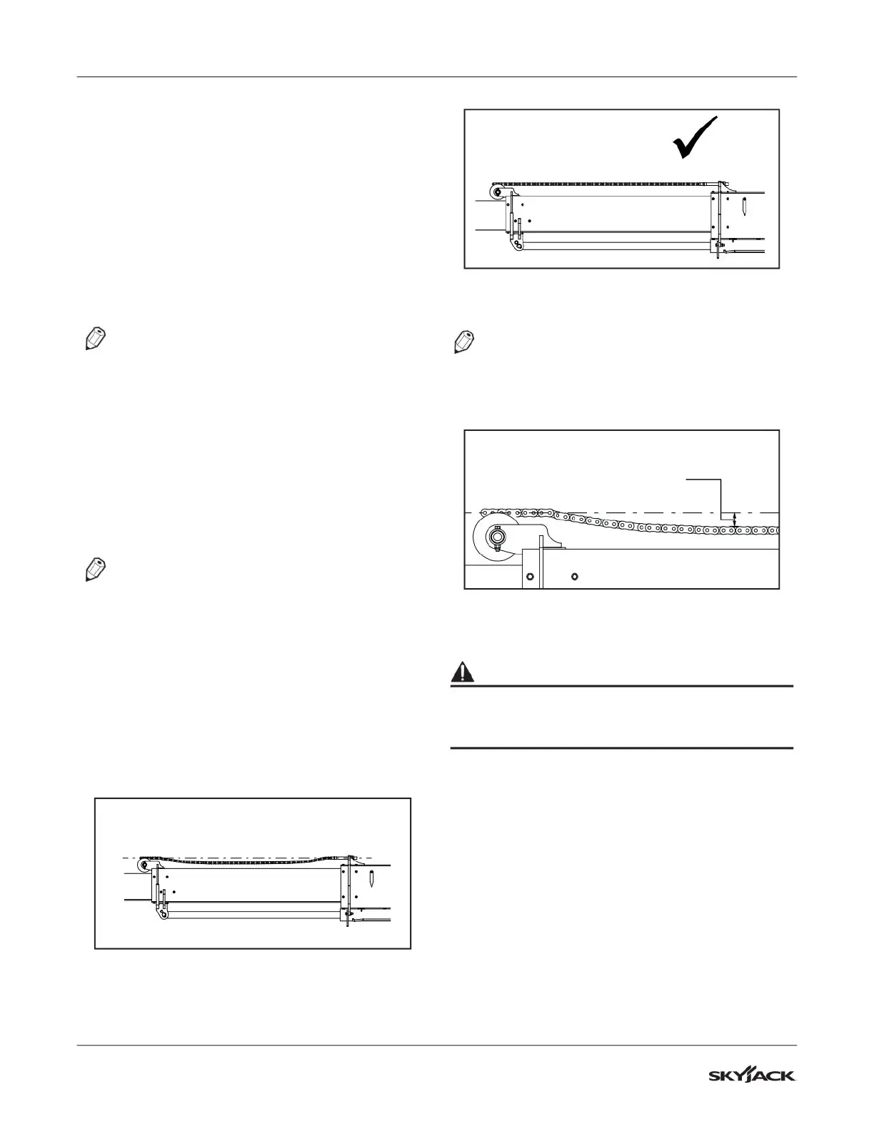
3. As you retract the boom slowly, watch for sagging
parts or loose links. See figure below.
ļ
Figure 34 Extend Chain Slack
Figure 35 Extend Chain
NOTE
Chain slack should not exceed 1 inch. See Figure
below.
1 inch MAX
Figure 36 Chain Maximum Slack
IMPORTANT
If the slack is more than 1.00 in., an adjustment is
required. Refer to Section 5.4-11 for chain tension
adjustment procedure.

Table of Contents

Other manuals for Skyjack SJ1044 TH

Related product manuals