EasyManua.ls Logo

SNBC BT-T080R - Page 41

SNBC BT-T080R
56 pages
Print Icon
To Next Page IconTo Next Page
To Next Page IconTo Next Page
To Previous Page IconTo Previous Page
To Previous Page IconTo Previous Page
Loading...
BT-T080R User’s Manual
- 35 -
Figure 4.7.10 Paper passes by the buffer shaft while loading paper
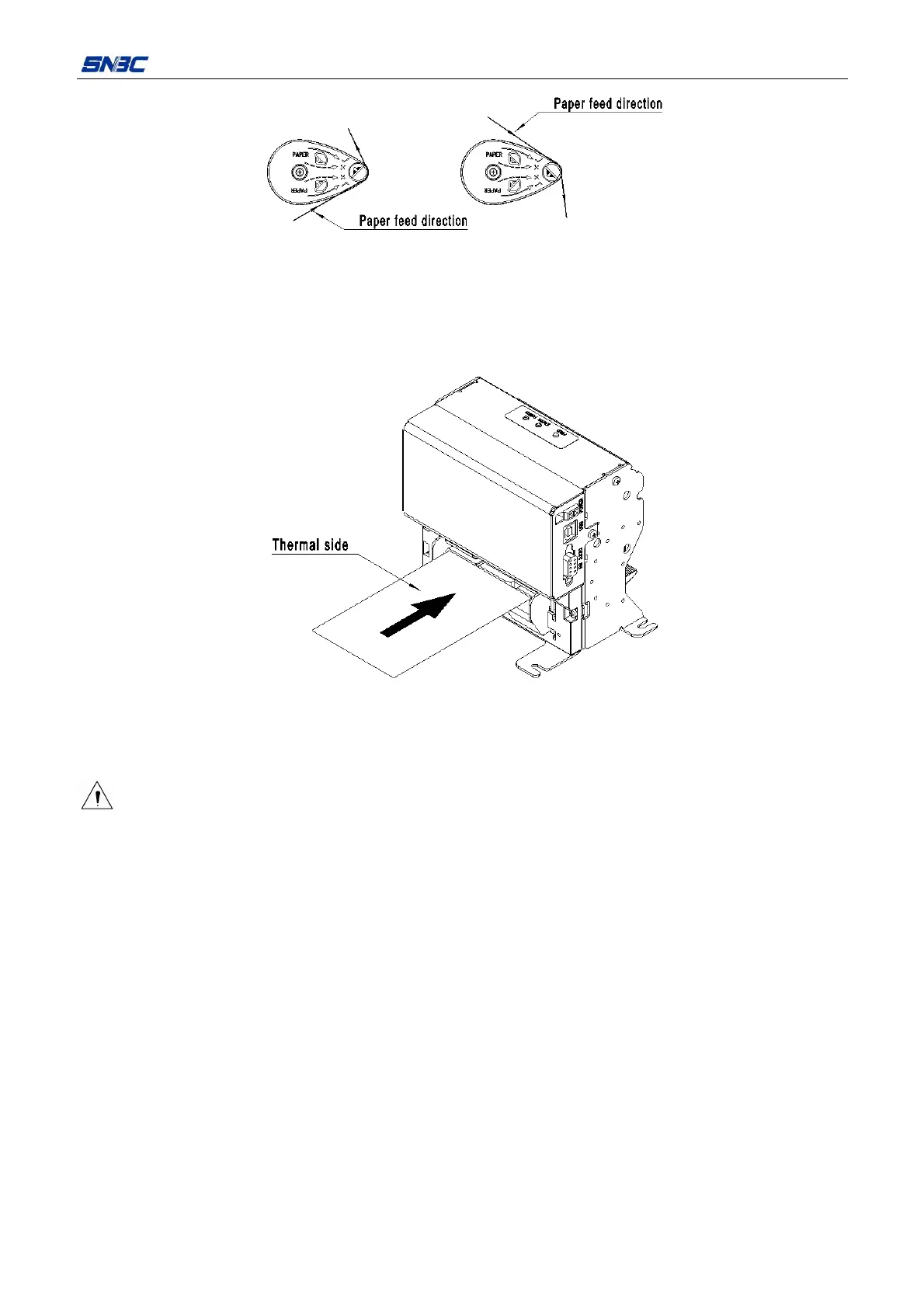
6) Push the paper into the paper inlet for a certain distance along the arrow direction. When the print
roller starts rotating and holding paper, release both hands. Ensure that the position of the paper’s
thermal side is as shown in the following figure.
Figure 4.7.11 Paper feed printing
7) The printer starts loading paper automatically, and the printer starts printing after the printer finishes
loading paper and the paper head stops at the normal print position.
Caution:
¾ Before loading paper, check and ensure that the position for installing the buffer device is
correct;
¾ The paper must pass by the buffer device and contact with the circular surface of the buffer
shaft while loading paper;
¾ Push the paper into the paper feeding path evenly and ensure that the paper head is parallel
with the paper feeding path to avoid that the paper is slanting.
¾ While fixing paper guide locking screw, please don’t use too much force to avoid the damage of
parts.

Table of Contents

Related product manuals