EasyManua.ls Logo

Sumitomo TYPE-71c - Page 36

Sumitomo TYPE-71c
94 pages
Print Icon
To Next Page IconTo Next Page
To Next Page IconTo Next Page
To Previous Page IconTo Previous Page
To Previous Page IconTo Previous Page
Loading...
2-11
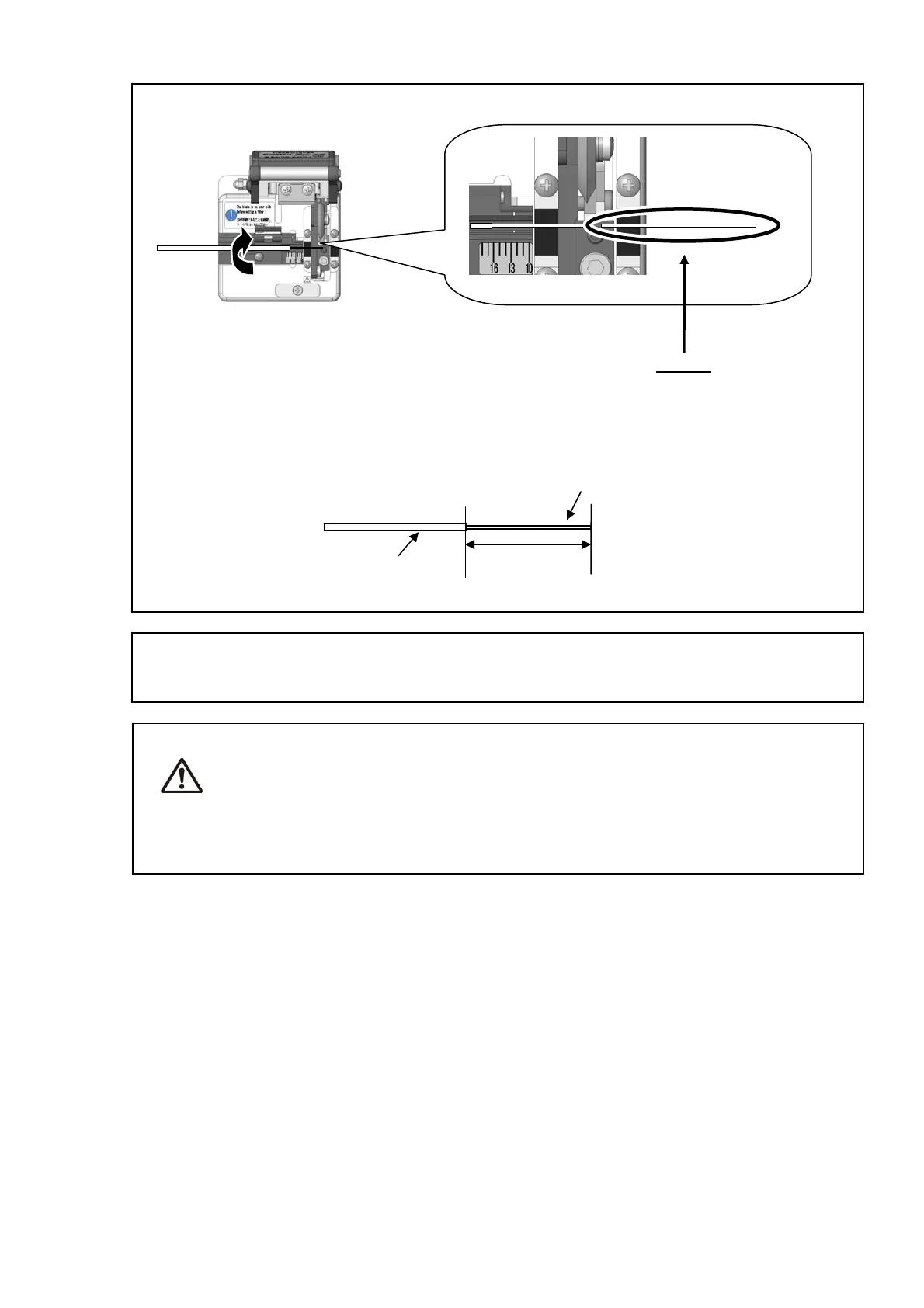
Open the top clamp lever.
Then open the coating clamp lid and lift the newly cleaved fiber.
Lift the off-cut and dispose of it properly.
Off-cut
5:
6: Insert the fiber into the splicer.
1. Do not re-clean the fiber after cleaving.
2. To avoid damaging or contaminating the delicate fiber ends, insert
each fiber immediately after preparation.
3. Glass-fiber fragments are extremely sharp. Handle with care.
Caution
Bare fiber
Cleave
length
Fiber coating
By using fiber cleaver (FC-6S-5C), cleaving length of 5 - 16mm is
available. Please confirm the manual of fiber cleaver (FC-6S-5C)
about detail procedure.

Table of Contents