EasyManua.ls Logo

Technogym Steprace - 3 Principles of Operation; Block Diagram

Technogym Steprace
114 pages
Print Icon
To Next Page IconTo Next Page
To Next Page IconTo Next Page
To Previous Page IconTo Previous Page
To Previous Page IconTo Previous Page
Loading...
STEPRACE: Service & Maintenance Manual - rev. 1.2
Page 3.1
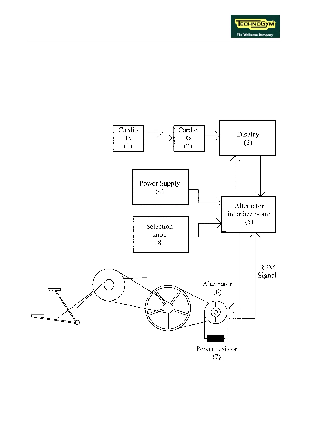
3. PRINCIPLES OF OPERATION
3.1. BLOCK DIAGRAM
The block diagram of the machine is shown in the figure below:
(1) CARDIO TRANSMITTER
It is worn by the person using the machine, and transmits to the cardio receiver one pulse for
every heart beat that is detected. There are 2 types of transmitter:
Non-coded: this is the standard product;

Table of Contents

Related product manuals