EasyManua.ls Logo

Trane Tracer Summit - UCM Communication Cards

Trane Tracer Summit
272 pages
Print Icon
To Next Page IconTo Next Page
To Next Page IconTo Next Page
To Previous Page IconTo Previous Page
To Previous Page IconTo Previous Page
Loading...
UCM Communication Cards
BMTW-SVN01F-EN 47
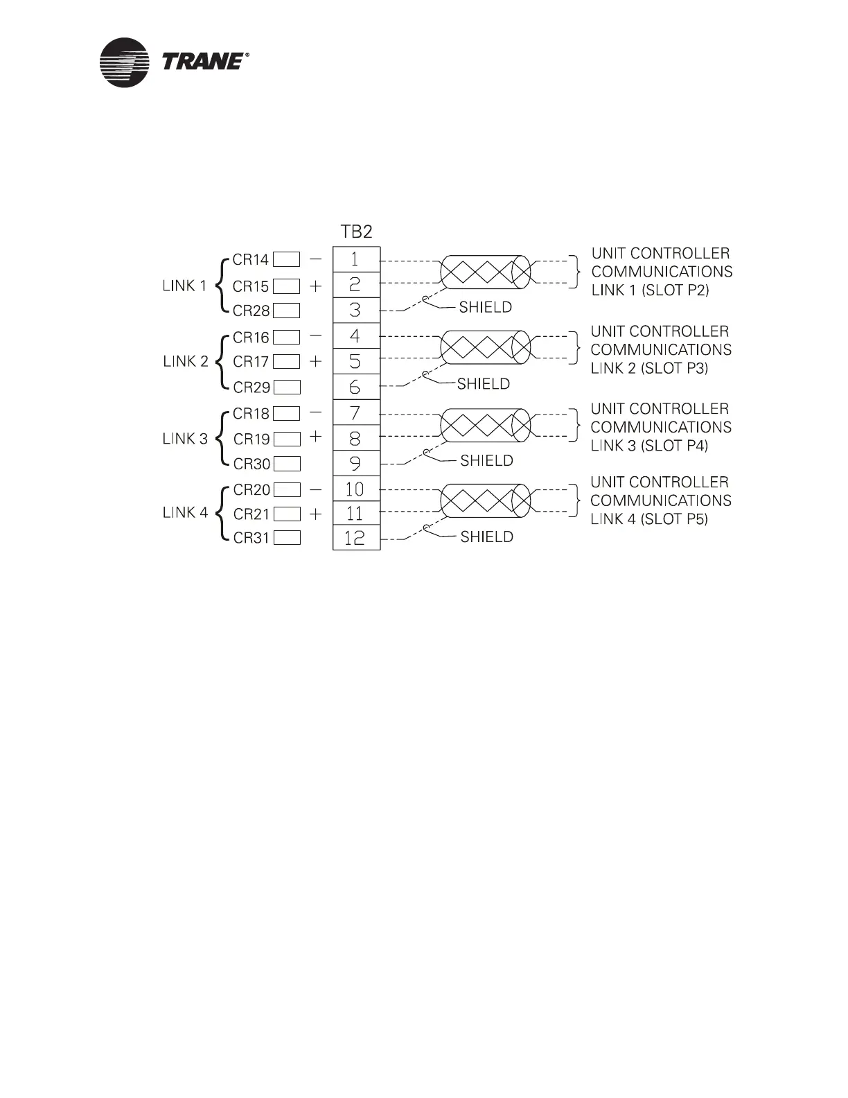
The locations of the UCM communication links on the BCU logic board
are illustrated in Figure 16.
Figure 16. UCM Communication-Link Locations
UCM Communication Cards
Five types of UCM communication cards are available. Each card sup-
ports a separate link of UCMs that are scanned continuously. These five
UCM communication card types are available for various communication
protocols.
These cards fit into modules P2, P3, P4, P5 on the BCU logic board and
can be arranged in any order. The BCU is shipped with these cards in
place, and they are preconfigured according to the model number as
ordered. The types of cards are as follows:
Cards that fit into module P2 use the UCM communication link #1
located on terminals TB2-1, TB2-2, and TB2-3.
Cards that fit into module P3 use the UCM communication link #2
located on terminals TB2-4, TB2-5, and TB2-6.
Cards that fit into module P4 use the UCM communication link #3
located on terminals TB2-7, TB2-8, and TB2-9.
Cards that fit into module P5 use the UCM communication link #4
located on terminals TB2-10, TB2-11, and TB2-12.
The five communication card options are described in the following sections.

Table of Contents

Other manuals for Trane Tracer Summit

Related product manuals