EasyManua.ls Logo

Troxler RoadReader Plus 3450 - Page 60

Troxler RoadReader Plus 3450
201 pages
Print Icon
To Next Page IconTo Next Page
To Next Page IconTo Next Page
To Previous Page IconTo Previous Page
To Previous Page IconTo Previous Page
Loading...
Model 3450
4–
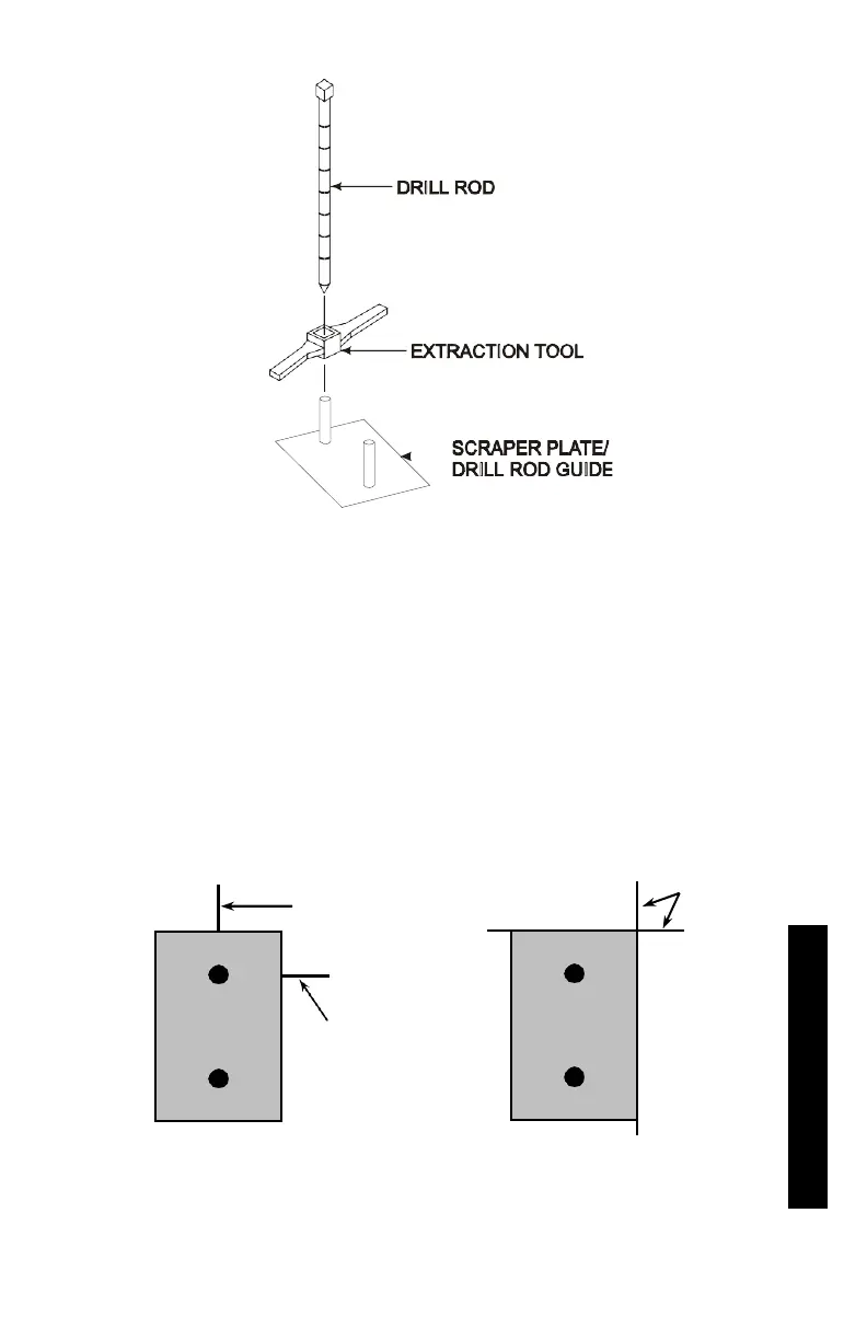
Figure 42. Drill Rod Assembly
Remove the drill rod by pulling straight up and twisting the
extraction tool. Do not loosen the drill rod by tapping from side
to side with a hammer. Also, do not rock the extraction tool
from side to side. This will distort the hole or cause loose
material to fall into the hole.
Carefully pick up the scraper plate.
MARK FOR SCRAPER
PLATE CENTER
EDGE
MARKS
MARK FOR DRILL
ROD CENTER
METHOD 1
METHOD 2
Figure 43. Marking the Test Area
SCRAPER
PLATE
SCRAPER
PLATE
4. USING THE GAUGE

Table of Contents

Related product manuals