EasyManua.ls Logo

typical GT1790A - Power Cord Connection

typical GT1790A
85 pages
Print Icon
To Next Page IconTo Next Page
To Next Page IconTo Next Page
To Previous Page IconTo Previous Page
To Previous Page IconTo Previous Page
Loading...
-
6
-
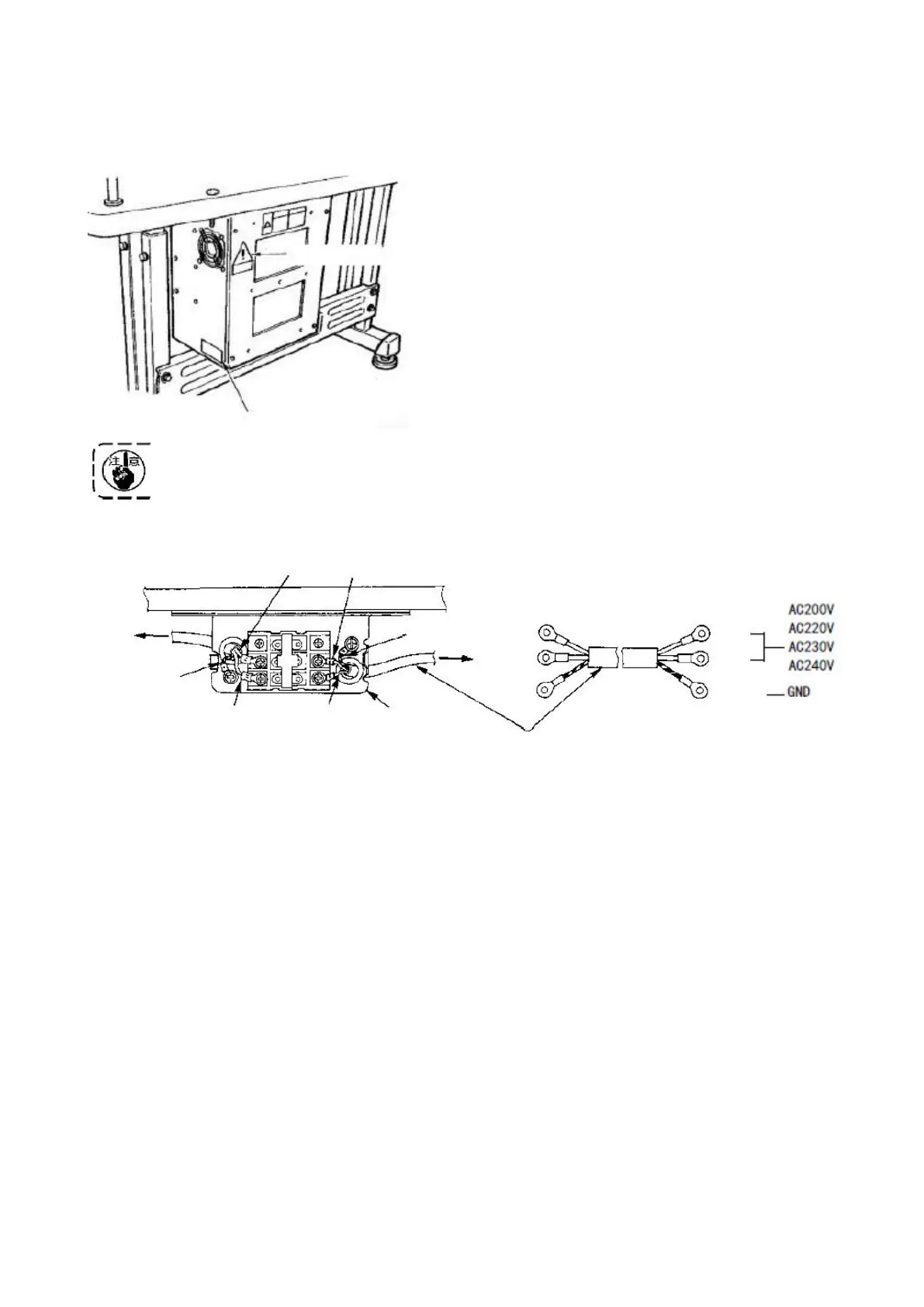
(2) Connecting the power cord
Voltage specification
Power source specifications are indicated on the
voltage indication tag and the rating label.
Please choose cables according to the specification.
Voltage indication tag
Rating label
Please do not run the machine under different voltage specifications.
Connection for single phase 200V, 220V, 230V and 240V
Light blue
Light blue
Table
Control
box
Green/Yellow
Brown
Brown
Power switch
Green/Yellow
Connector
Power cord
Brown
Light
blue
Green/
Yellow

Table of Contents

Related product manuals