EasyManua.ls Logo

Vaisala CT25K - Transmitter CTT21; Removal; Figure 8-1 Board Connectors of the DMF51 Board Frame

Vaisala CT25K
139 pages
Print Icon
To Next Page IconTo Next Page
To Next Page IconTo Next Page
To Previous Page IconTo Previous Page
To Previous Page IconTo Previous Page
Loading...
Ceilometer CT25K
CT25K-U059en-2.1 User’s Guide
101
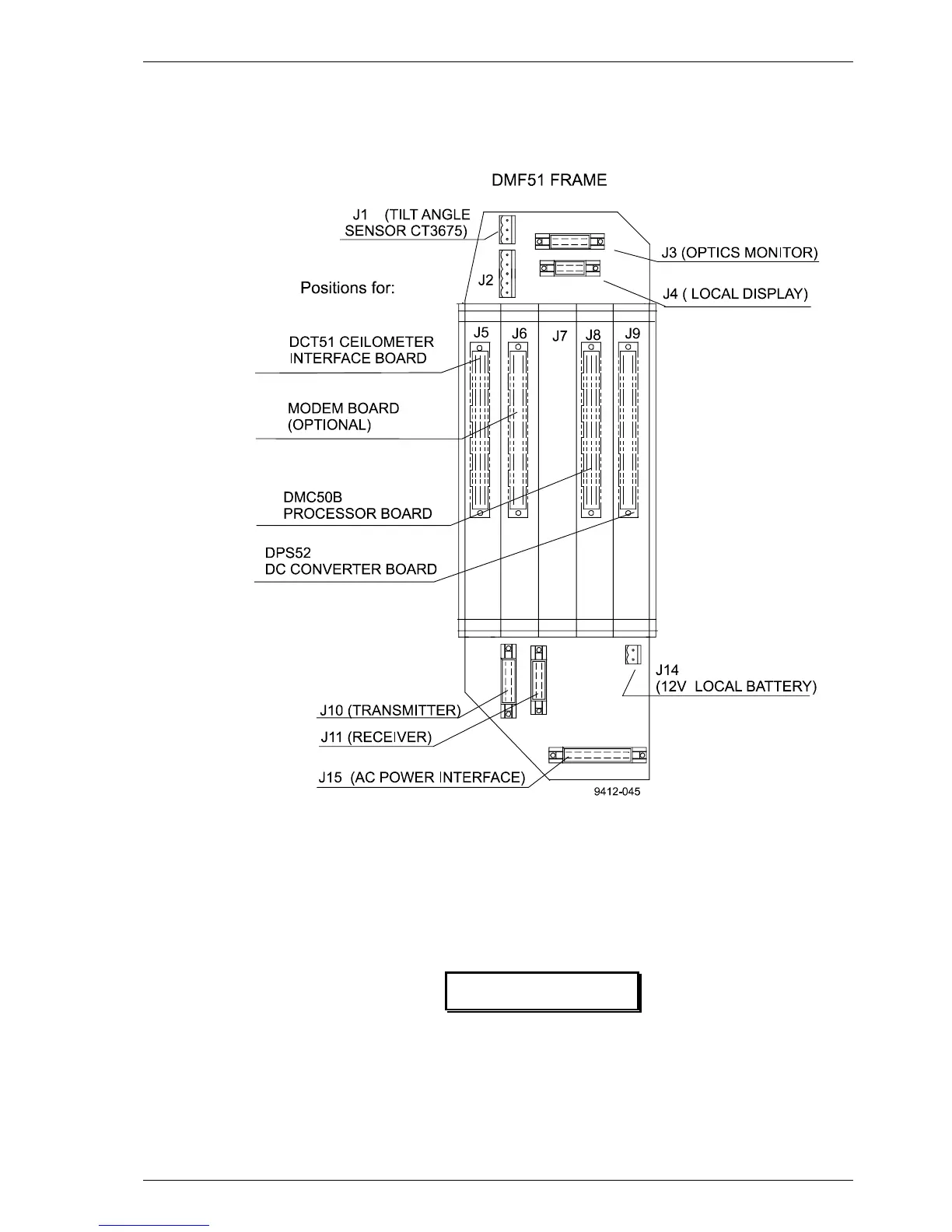
Refer to Figure 8-1 for cable connections of the subassemblies.
Figure 8-1 Board Connectors of the DMF51 Board Frame
8.4 Transmitter CTT21
8.4.1 Removal
WARNING
The laser diode at Laser Transmitter CTT21 emits
invisible laser power which is harmful to the eye if viewed
at short distance. Never remove the transmitter from its
normal position without first switching both the line and
the battery power off and detaching the ribbon cable of
Laser Transmitter CTT21 from the Board Frame DMF51.

Table of Contents

Related product manuals