EasyManua.ls Logo

Vaz 21213 - Hydraulic Chain Tensioner

Vaz 21213
222 pages
Print Icon
To Next Page IconTo Next Page
To Next Page IconTo Next Page
To Previous Page IconTo Previous Page
To Previous Page IconTo Previous Page
Loading...
194
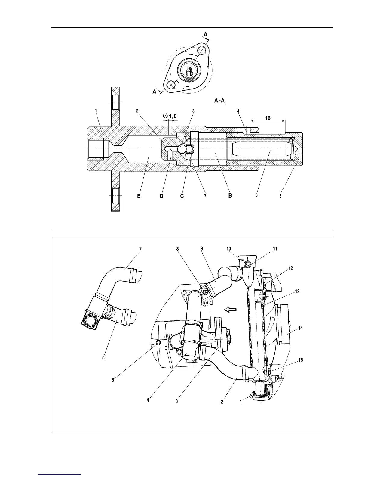
Fig.9-12. Hydraulic chain tensioner:
1 - tensioner housing; 2 - valve unit; 3 - ball, non-return valve; 4 - stop pin; 5 - plunger; 6 - volume restrictor; 7 - spring;
Ç - working cavity; ë - locating slot; Ñ - hole; Ö - reserve cavity
Fig.9-13. Cooling system:
1 - radiator pad; 2 - radiator return hose; 3 - water pump pulley; 4 - thermostat; 5 - drain pipe from throttle housing; 6 - coolant delivery hose to pump; 7 - transfer hose, ther-
mostat; 8 - coolant delivery pipe for part throttle channel preheating; 9 - radiator delivery hose; 10 - radiator cap; 11 - hose between radiator and expansion tank; 12 - top
fan cowl securing nut; 13 - radiator; 14 - electric fan; 15 - bottom fan cowl securing nut

Table of Contents

Related product manuals