EasyManua.ls Logo

Waters ACQUITY - Page 100

Waters ACQUITY
136 pages
Print Icon
To Next Page IconTo Next Page
To Next Page IconTo Next Page
To Previous Page IconTo Previous Page
To Previous Page IconTo Previous Page
Loading...
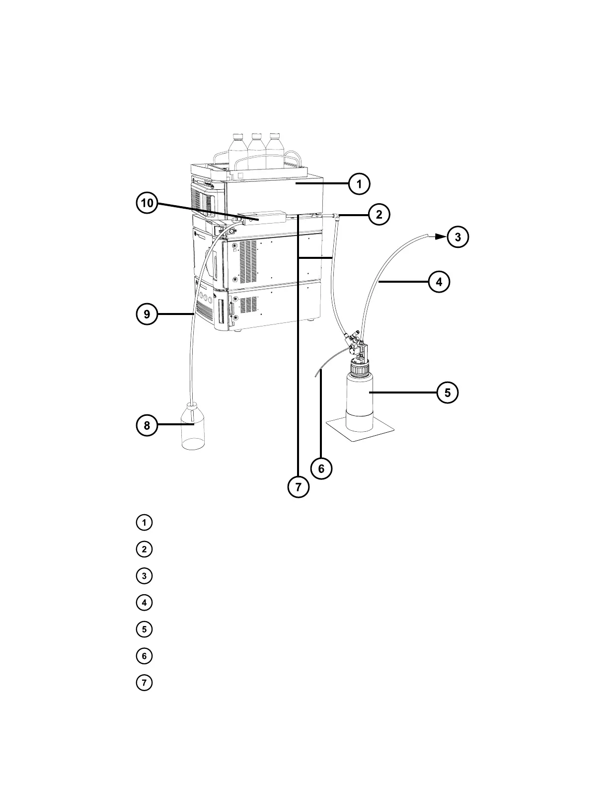
valve—rear configuration" and "Internal source exhaust valve—front configuration" in
Connecting the internal source exhaust valve.
Figure D–11: Rear configuration with LC stack
ACQUITY QDa
90-degree elbow
To laboratory exhaust system
PTFE tubing
Exhaust-trap bottle
Exhaust solenoid cable
PTFE tubing (ensure downward gradient)
June 15, 2017, 715003956 Rev. F
Page 100

Table of Contents

Other manuals for Waters ACQUITY

Related product manuals