EasyManua.ls Logo

Waters ACQUITY - Page 103

Waters ACQUITY
136 pages
Print Icon
To Next Page IconTo Next Page
To Next Page IconTo Next Page
To Previous Page IconTo Previous Page
To Previous Page IconTo Previous Page
Loading...
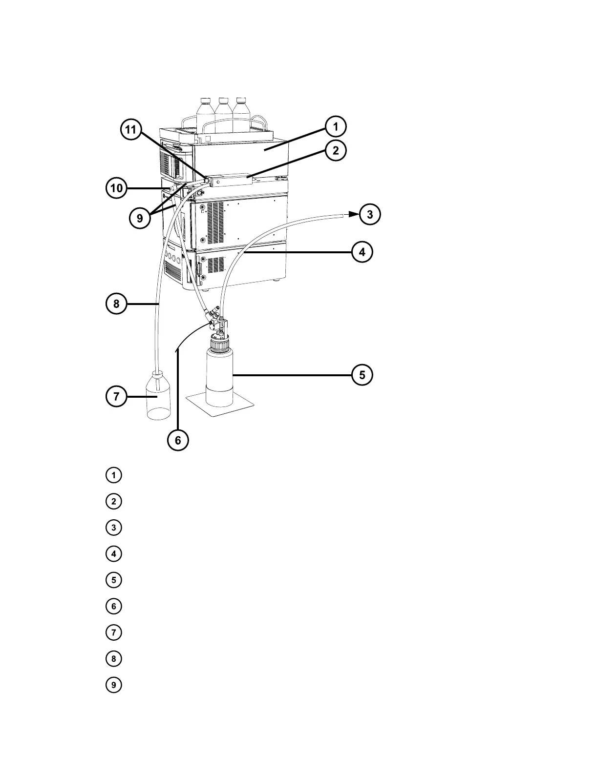
Figure D–13: Front configuration with LC stack
ACQUITY QDa
Source exhaust valve assembly
To laboratory exhaust system
PTFE tubing
Exhaust-trap bottle
Exhaust solenoid cable
Liquid waste container
Convoluted liquid waste tubing
PTFE tubing (ensure downward gradient)
June 15, 2017, 715003956 Rev. F
Page 103

Table of Contents

Other manuals for Waters ACQUITY

Related product manuals