EasyManua.ls Logo

Waters ACQUITY - Page 32

Waters ACQUITY
136 pages
Print Icon
To Next Page IconTo Next Page
To Next Page IconTo Next Page
To Previous Page IconTo Previous Page
To Previous Page IconTo Previous Page
Loading...
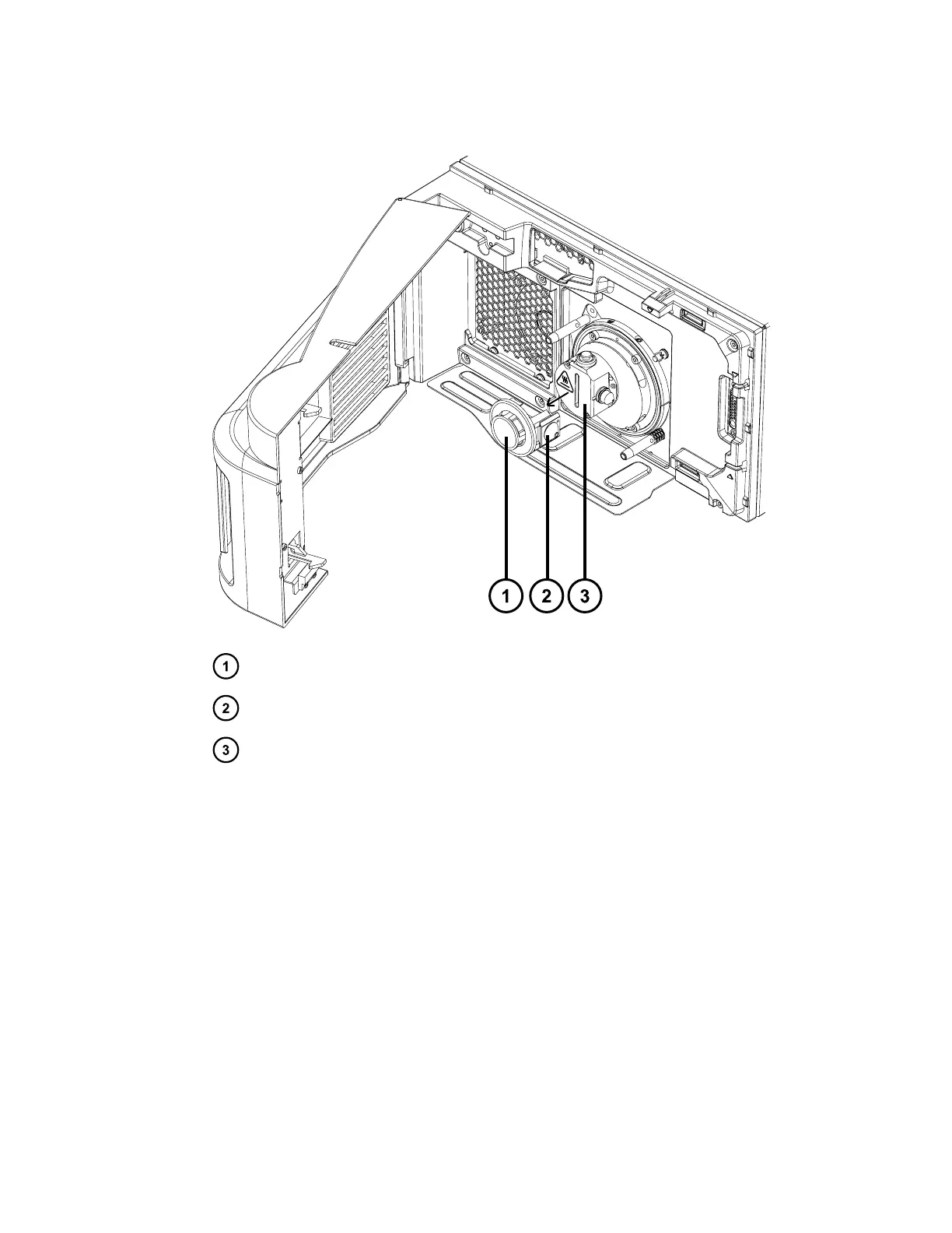
Figure 3–2: Removing the gas cone and PEEK cone clamp
PEEK cone clamp
Gas cone
Ion block
3. Remove the sample cone assembly from the right-hand side of the ion block and
disassemble the parts by hand.
Note:
Three parts compose the sample cone assembly: a metal sample cone, a disc aperture
assembly, and a metal entrance-aperture carrier.
The disc aperture assembly contains a metal disc. If the disc becomes separated from
the rubber carrier, simply reinsert the disc into the carrier.
Requirement: The Standard and Performance QDa detectors require different entrance
aperture discs. When ordering a replacement entrance-aperture disc and seal, ensure that
the entrance-aperture disc is the correct type.
June 15, 2017, 715003956 Rev. F
Page 32

Table of Contents

Other manuals for Waters ACQUITY

Related product manuals