EasyManua.ls Logo

Waters ACQUITY - Page 83

Waters ACQUITY
136 pages
Print Icon
To Next Page IconTo Next Page
To Next Page IconTo Next Page
To Previous Page IconTo Previous Page
To Previous Page IconTo Previous Page
Loading...
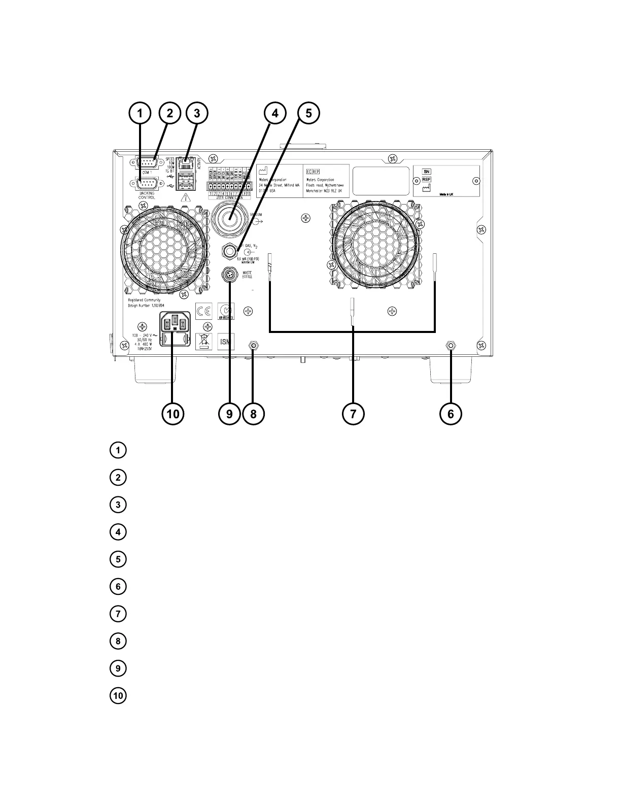
Figure D–1: Rear panel connections
Backing pump connection
Service port
Ethernet cable
Vacuum pump tubing
Nitrogen inlet
Diaphragm pump securing screw
Diaphragm pump supports
Diaphragm pump securing screw
Waste bottle solenoid connection
Power cable
For details of supported system configurations, contact Waters Technical Service.
June 15, 2017, 715003956 Rev. F
Page 83

Table of Contents

Other manuals for Waters ACQUITY

Related product manuals