EasyManua.ls Logo

WebGate EH1600L - Supplying Power

WebGate EH1600L
126 pages
Print Icon
To Next Page IconTo Next Page
To Next Page IconTo Next Page
To Previous Page IconTo Previous Page
To Previous Page IconTo Previous Page
Loading...
Install&User Manual
[EH-Series] [LH-Series]
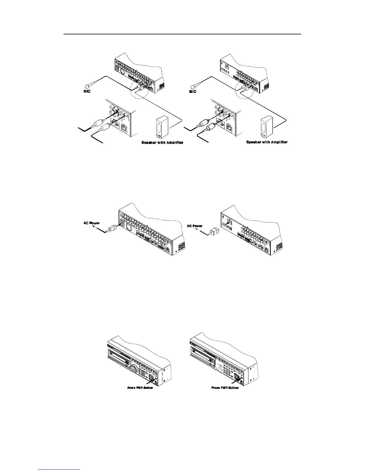
2.1.1.4 Supplying Power
Connect power cable as below;
[EH-Series] [LH-Series]
- When supplying power, DVR starts booting automatically.
- In order to cut off power, press power switch on DVR front during 5 seconds, then select
“YES” after appearing a pop-up window.
- For supplying power again, push the Power button.
[EH-Series] [LH-Series]

Table of Contents

Related product manuals