EasyManua.ls Logo

WebGate EH1600L - Install Examples

WebGate EH1600L
126 pages
Print Icon
To Next Page IconTo Next Page
To Next Page IconTo Next Page
To Previous Page IconTo Previous Page
To Previous Page IconTo Previous Page
Loading...
Install&User Manual
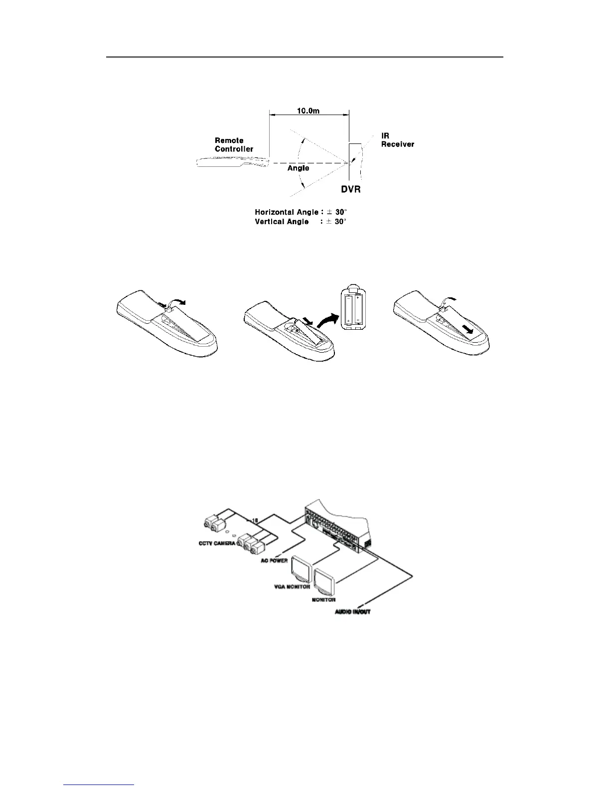
2.2.2.3 Operaable range of remote controller
2.2.2.4 Loading the batteris into the remote controller
Remote controller required two AAA-type batteries. Please, refer the following installation step.
1. Remove the battery cover
2.Taking care the the poles
(+/-) are correctly
positioned.
3. Replace the battery cover
2.2.3 Install examples
2.2.3.1 Basic configuration
[EH-Series]

Table of Contents

Related product manuals