EasyManua.ls Logo

Westerbeke Universal M-50 - Page 51

Westerbeke Universal M-50
162 pages
Print Icon
To Next Page IconTo Next Page
To Next Page IconTo Next Page
To Previous Page IconTo Previous Page
To Previous Page IconTo Previous Page
Loading...
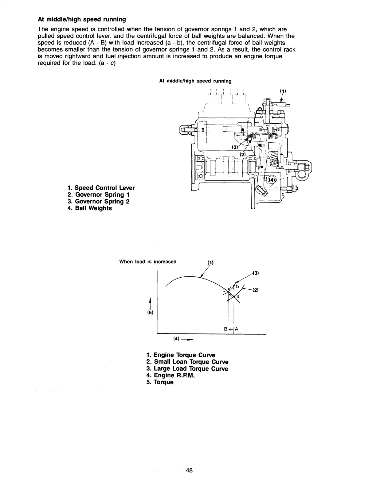
At
middle/high
speed
running
The engine speed
is
controlled when the tension of governor springs 1 and
2,
which are
pulled speed control
lever,
and the centrifugal force of ball weights are balanced. When the
speed
is
reduced
(A
- 8) with load increased
(a
-
b),
the centrifugal force of ball weights
becomes
smaller than the tension of governor springs 1 and
2.
As a result, the control rack
is moved rightward and
fuel injection amount is increased
to
produce
an
engine torque
required for the load.
(a
-
c)
At
middle/high
speed
running
1.
Speed Control Lever
2. Governor
Spring 1
3.
Governor Spring 2
4.
Ball Weights
When load
is
increased
(1)
(3)
(2)
t
(5)
(4)
__
1.
Engine Torque Curve
2.
Small Loan Torque Curve
3.
Large Load Torque Curve
4.
Engine R.P.M.
5.
Torque
48

Table of Contents

Related product manuals