EasyManua.ls Logo

YASKAWA GPD-506V

YASKAWA GPD-506V
168 pages
To Next Page IconTo Next Page
To Next Page IconTo Next Page
To Previous Page IconTo Previous Page
To Previous Page IconTo Previous Page
Loading...
GPD506/P5 Simplified Startup Procedure
- v -
This procedure is a simplified step by step guide to installing, programming, and using a
GPD506/P5 drive. It highlights several common installation configurations.
INSTALLATION
1. Be certain your input voltage source, motor and drive nameplates are all marked either
230V, 460V or 600V. Other voltages can be used, but require additional programming.
CAUTION: Verify that the input voltage matches the drive’s nameplate BEFORE
applying power or severe damage will result.
2. Mount drive on a vertical surface with adequate space for air circulation (4.7” above and
below, 1.2” on each side).
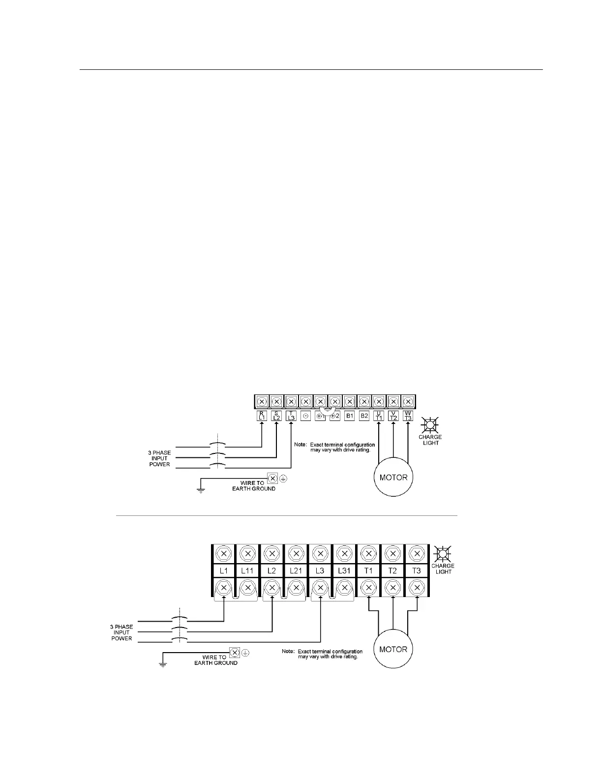
3. Remove front cover, fit conduit to bottom plate, and connect power and ground wires as
shown.
CAUTION: BE CERTAIN YOU CONNECT INPUT POWER TO TERMINALS L1, L2,
AND L3 ONLY, OR SERIOUS DAMAGE WILL RESULT. CONNECT MOTOR TO
TERMINALS T1, T2, AND T3 ONLY.
POWER WIRING SCHEMATIC
GPD506V-A003 thru GPD506V-A068 (CIMR-P5M20P41F thru 20151F)
GPD506V-B001 thru GPD506V-B034 (CIMR-P5M40P41F thru 40151F)
CIMR-P5M51P51F thru 51600F
GPD506V-A080 thru GPD506V-A312 (CIMR-P5M20181F thru 20750F)
GPD506V-B041 thru GPD506V-B302 (CIMR-P5M40181F thru 41600F)

Table of Contents

Related product manuals