EasyManua.ls Logo

ABB ZX2 - Page 32

ABB ZX2
112 pages
Print Icon
To Next Page IconTo Next Page
To Next Page IconTo Next Page
To Previous Page IconTo Previous Page
To Previous Page IconTo Previous Page
Loading...
32 ZX2 GAS-INSULATED MEDIUM VOLTAGE SWITCHGEAR
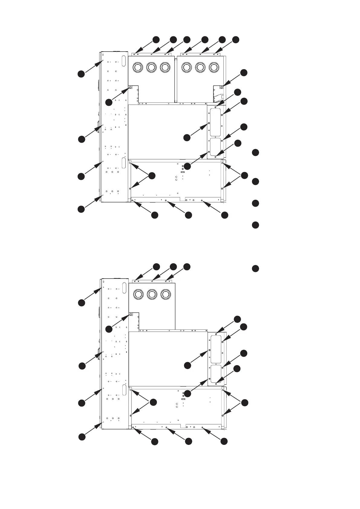
1
Cheese head screw, M 8 x 25
Nut, M 8
2 x dished washer, 8
2
Hexagon screw, M 8 x 25
Dished washer, 8
3
Cheese head screw, M 8 x 25
Dished washer, 8
4
Spacer
Cheese head screw, M 8 x 40
Nut, M 8
2 x dished washer, 8
(see fig. 2.3.2.8)
5
Cheese head screw,
M 10 x 50
Nut, M 10
2 x dished washer 10
(see fig. 2.3.2.7)
Fig. 3.3.2.9:
Panel joints for double
busbar panel
Fig. 3.3.2.10:
Panel joints for
single busbar panel,
busbar at front
Fig. 3.3.2.9
Fig. 3.3.2.10
1
1
1
1
2
2 2
3
3
3
3
3
3
3
4
4
555555
2
1
4
1
1
1
2
2
2 2
3
3
3
3
3
3
3
555

Table of Contents