EasyManua.ls Logo

Acer One 522 - Power On Issues

Acer One 522
232 pages
Print Icon
To Next Page IconTo Next Page
To Next Page IconTo Next Page
To Previous Page IconTo Previous Page
To Previous Page IconTo Previous Page
Loading...
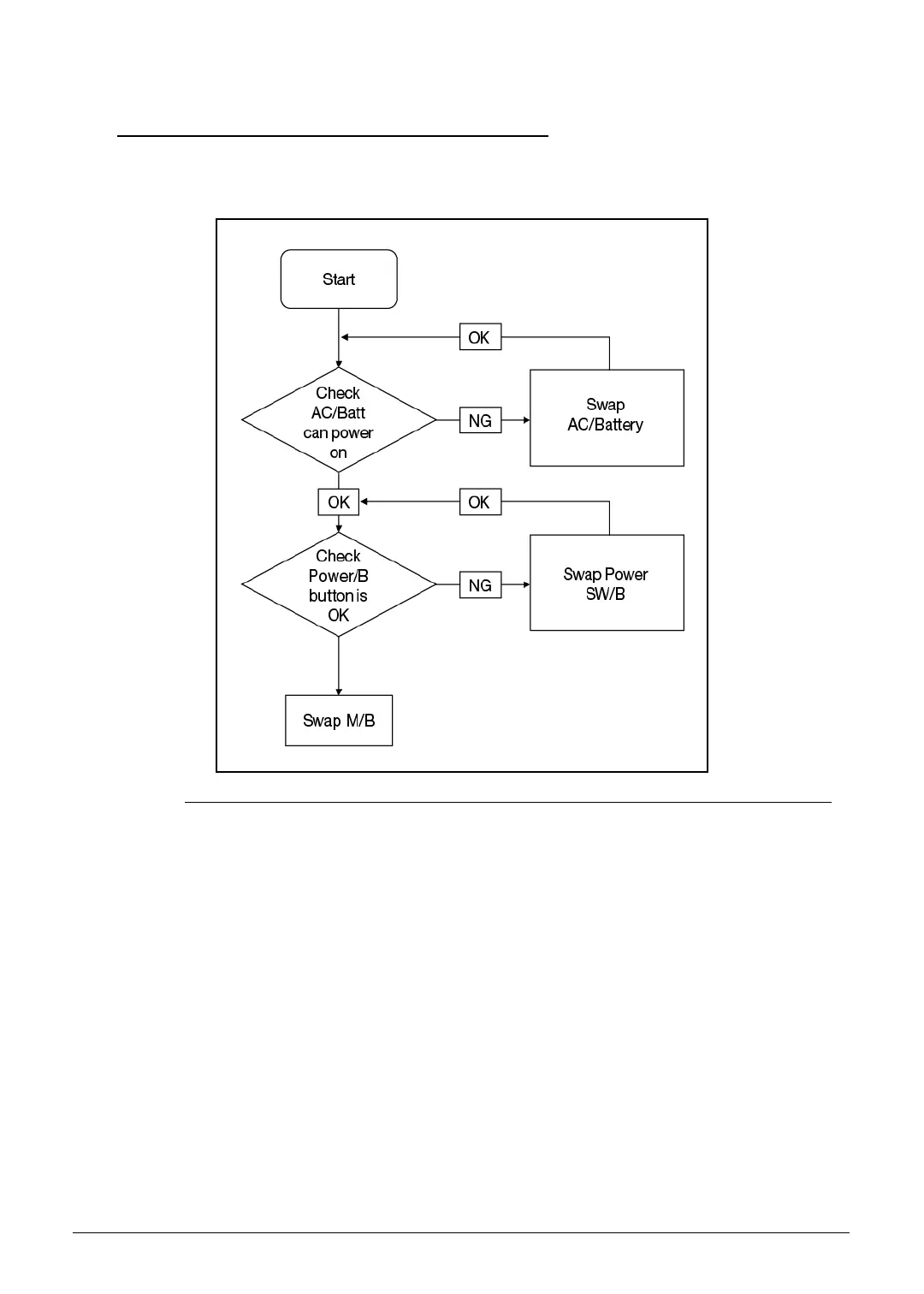
4-4 Troubleshooting
Power On Issues 0
If the system does not power on, perform the following:
Figure 4-1. Power On Issue
Computer Shuts Down Intermittently 0
If the system powers off at intervals, perform the following.
1. Makes sure the power cable is properly connected to the computer and the electrical
outlet.
2. Remove all extension cables between the computer and the outlet.
3. Remove all surge protectors between the computer and the electrical outlet. Plug the
computer directly into a known serviceable electrical outlet.
4. Disconnect the power and open the casing to check the Thermal Unit (refer to Thermal
Unit Failure) and fan airways are free of obstructions.
5. Remove all external and non-essential hardware connected to the computer that are not
necessary to boot the computer to the failure point.
6. Remove any recently installed software.
7. If the Issue is still not resolved, see Online Support Information.

Table of Contents

Related product manuals