EasyManua.ls Logo

Acer One 522 - Wireless Function Failure

Acer One 522
232 pages
To Next Page IconTo Next Page
To Next Page IconTo Next Page
To Previous Page IconTo Previous Page
To Previous Page IconTo Previous Page
Loading...
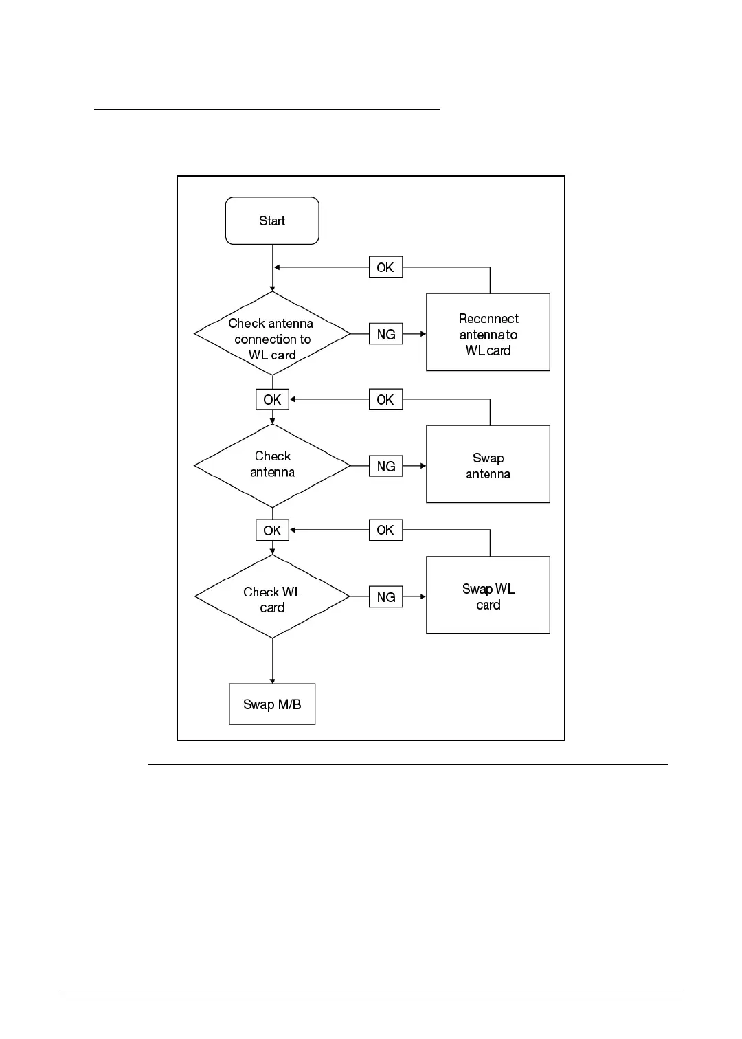
4-14 Troubleshooting
Wireless Function Failure 0
If the WLAN fails, perform the following:
Figure 4-9. Wireless Function Failure

Table of Contents

Related product manuals