EasyManua.ls Logo

Acer One 522 - Cosmetic Failure

Acer One 522
232 pages
Print Icon
To Next Page IconTo Next Page
To Next Page IconTo Next Page
To Previous Page IconTo Previous Page
To Previous Page IconTo Previous Page
Loading...
4-16 Troubleshooting
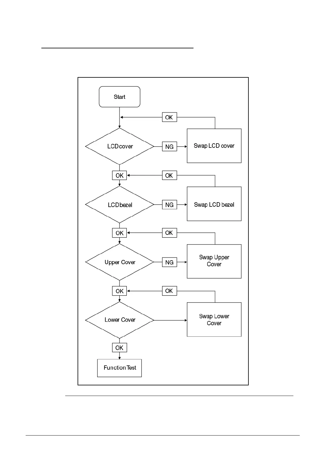
Cosmetic Failure 0
If there is cosmetic damage to the outer cover or bezel, perform the following:
Figure 4-11. Cosmetic Failure

Table of Contents

Related product manuals