EasyManua.ls Logo

Acer One 522 - Thermal Unit Failure

Acer One 522
232 pages
Print Icon
To Next Page IconTo Next Page
To Next Page IconTo Next Page
To Previous Page IconTo Previous Page
To Previous Page IconTo Previous Page
Loading...
Troubleshooting 4-17
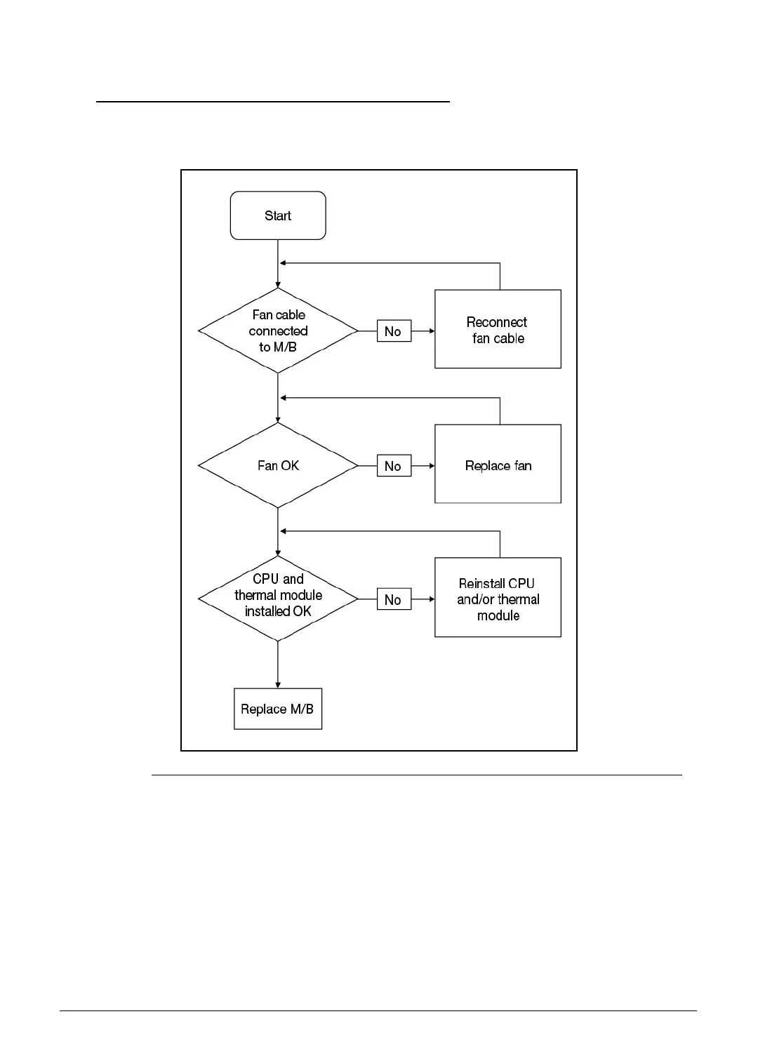
Thermal Unit Failure 0
If the Thermal Unit fails, perform the following:
Figure 4-12. Thermal Failure

Table of Contents

Related product manuals