EasyManua.ls Logo

Acer One 522 - USB Failure

Acer One 522
232 pages
Print Icon
To Next Page IconTo Next Page
To Next Page IconTo Next Page
To Previous Page IconTo Previous Page
To Previous Page IconTo Previous Page
Loading...
Troubleshooting 4-13
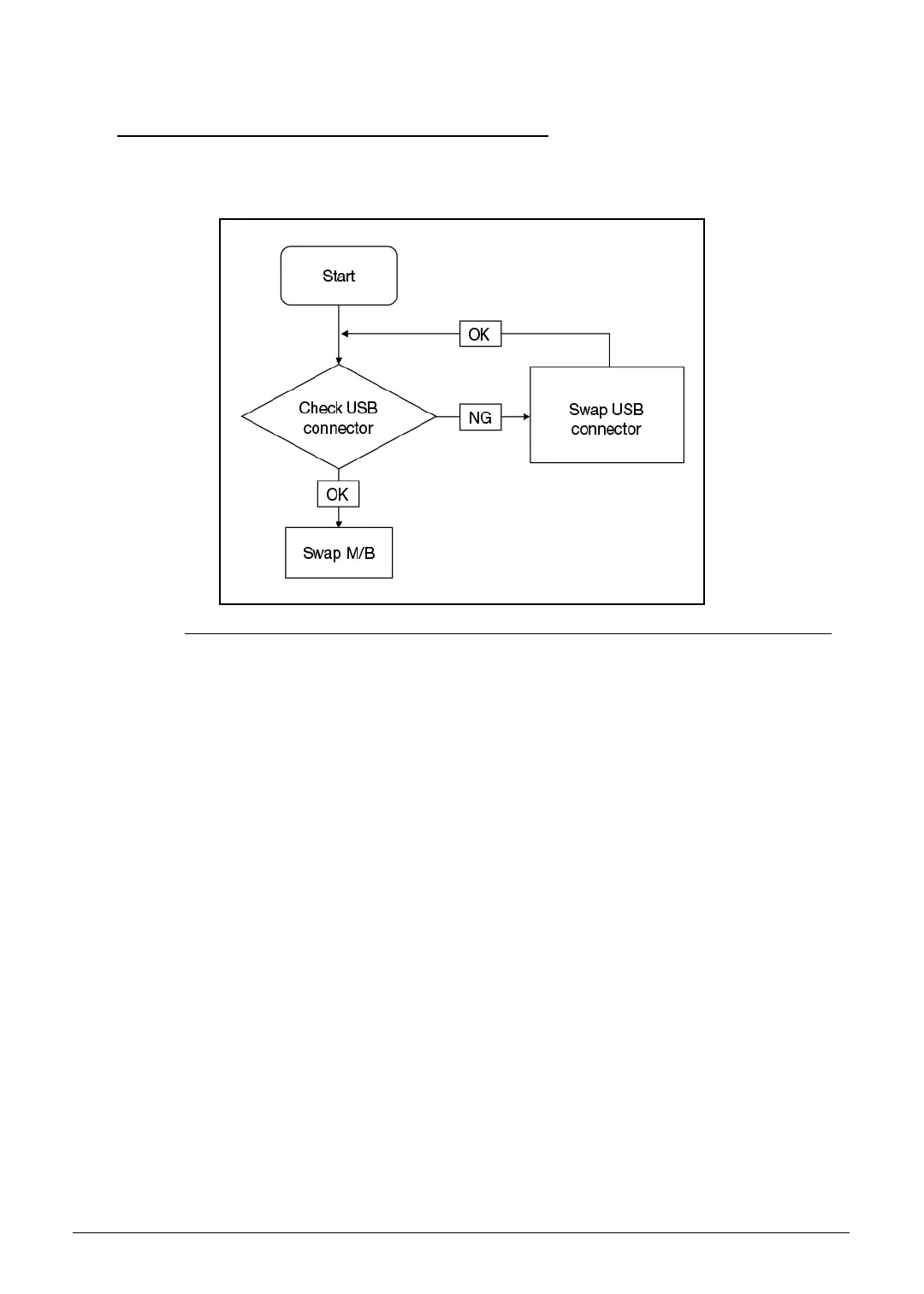
USB Failure 0
If the USB fails, perform the following:
Figure 4-8. USB Failure

Table of Contents

Related product manuals