EasyManua.ls Logo

Acer One 522 - Microphone Failure

Acer One 522
232 pages
Print Icon
To Next Page IconTo Next Page
To Next Page IconTo Next Page
To Previous Page IconTo Previous Page
To Previous Page IconTo Previous Page
Loading...
4-12 Troubleshooting
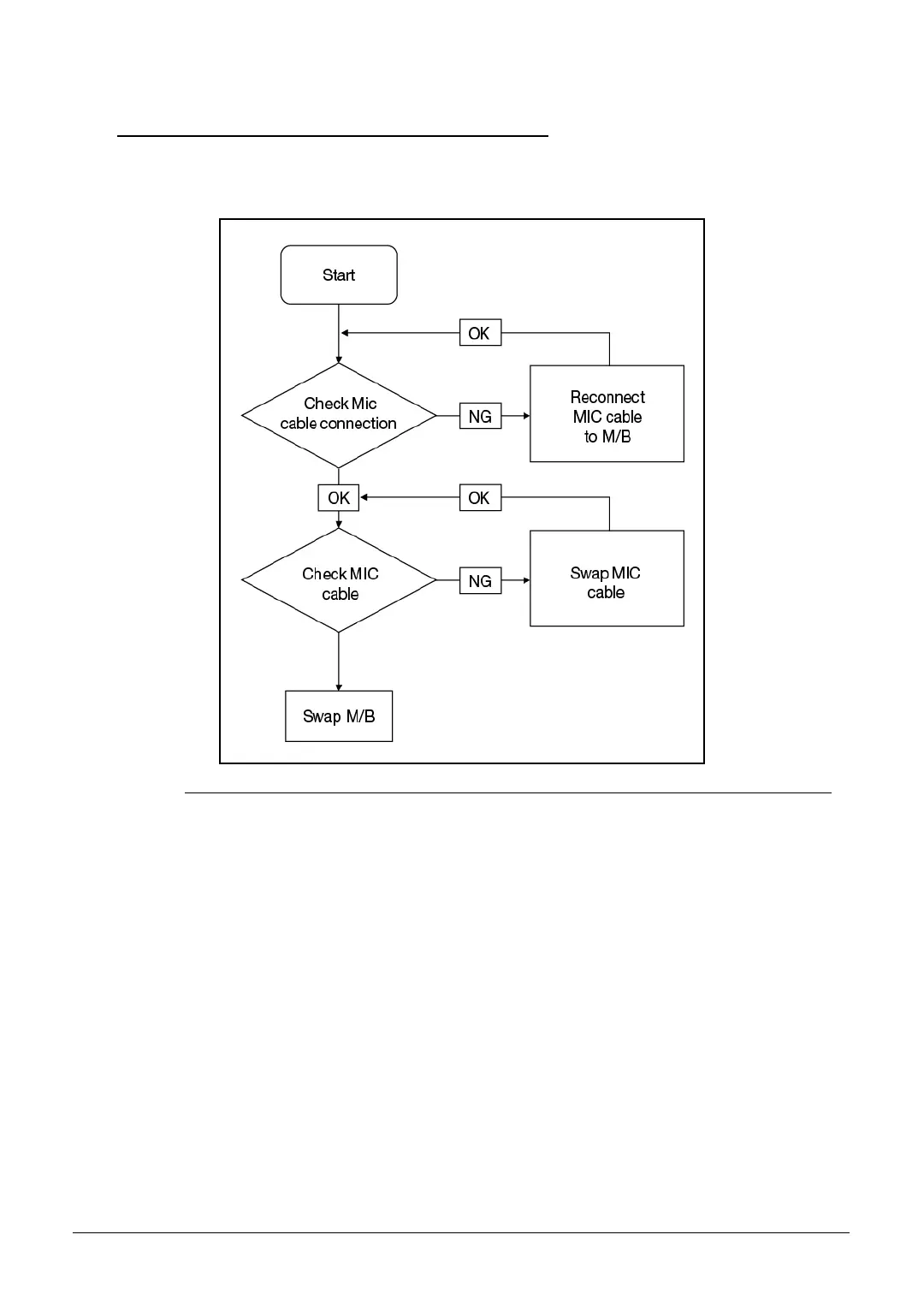
Microphone Failure 0
If internal or external Microphones fail, perform the following:
Figure 4-7. Microphone Failure
1. Check that the microphone is enabled. Navigate to Start
Control Panel
Hardware
and Sound
Sound and select the Recording tab.
2. Right click on the Recording tab and select Show Disabled Devices (clear by
default). The microphone appears on the Recording tab.
3. Right click on the microphone and select Enable.
4. Select the microphone then click Properties. Select the Levels tab.
5. Increase the volume to the maximum setting and click OK.
6. Test the microphone hardware:
Select the microphone and click Configure.
Select Set up microphone.
Select the microphone type from the list and click Next.
Follow the on-screen prompts to complete the test.
7. If the Issue is still not resolved, refer to Online Support Information.

Table of Contents

Related product manuals