EasyManua.ls Logo

Atlantic CALYPSO - Contenu de Lemballage; Présentation; Consignes de Sécurité

Atlantic CALYPSO
Print Icon
To Next Page IconTo Next Page
To Next Page IconTo Next Page
To Previous Page IconTo Previous Page
To Previous Page IconTo Previous Page
Loading...
27
Avertissements Installation Utilisation
1. Présentation
1.1. Consignes de sécurité
Les travaux d’installation et de mise en service sur les chau󰀨e-eau thermodynamiques
peuvent présenter des dangers en raison de hautes pressions et de pièces sous tension
électrique.
Les chau󰀨e-eau thermodynamiques doivent être installés, mis en service et entretenus
par un personnel formé et qualié uniquement.
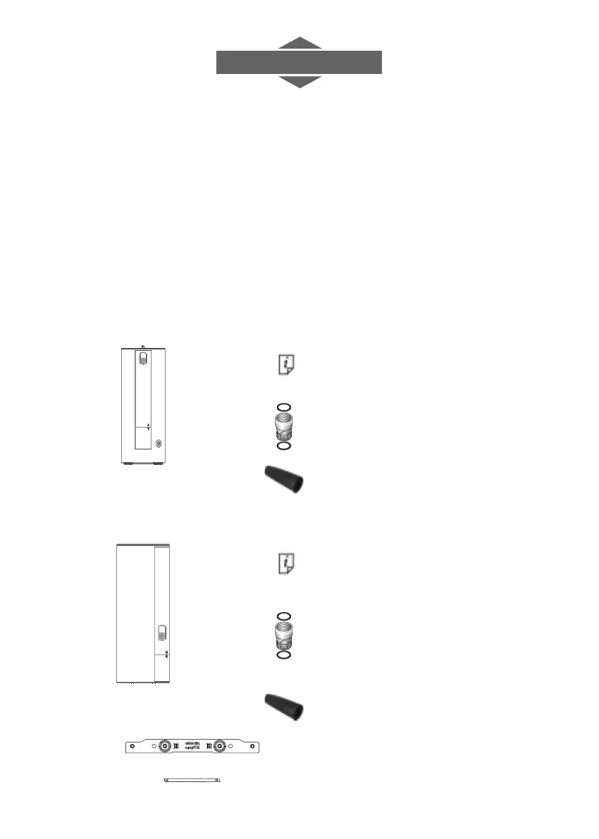
1.2. Contenu de l’emballage
1.2.1. Colisage chau󰀨e-eau vertical sur socle
1 notice
1 sachet contenant le raccord diélec-
trique et 2 joints pour la sortie eau
chaude
2 manchons d’isolation pour le rac-
cordement frigorique
1.2.2. Colisage chau󰀨e-eau vertical mural
1 notice
1 sachet contenant le raccord diélec-
trique et 2 joints pour la sortie eau
chaude
2 manchons d’isolation pour le rac-
cordement frigorique
2 support easyFIX
Patte de xation au mur

Table of Contents

Related product manuals