EasyManua.ls Logo

Basler DGC-500 - Page 53

Basler DGC-500
154 pages
Print Icon
To Next Page IconTo Next Page
To Next Page IconTo Next Page
To Previous Page IconTo Previous Page
To Previous Page IconTo Previous Page
Loading...
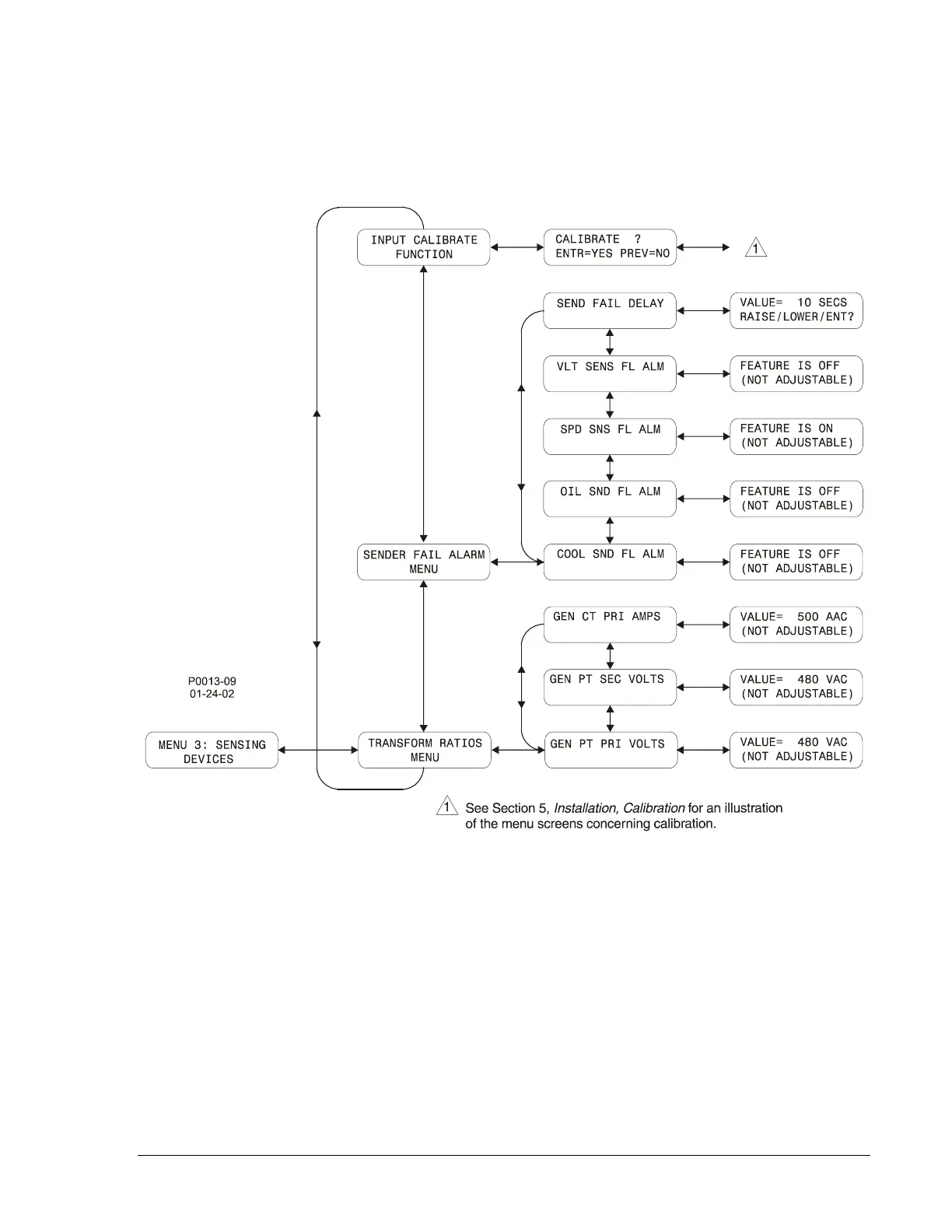
Figure 3-11. Menu 3 Navigation
9355400990 Rev H DGC-500 Functional Description 3-23

Table of Contents

Related product manuals