EasyManua.ls Logo

Buhler Versatile 2290 - Page 112

Buhler Versatile 2290
380 pages
Print Icon
To Next Page IconTo Next Page
To Next Page IconTo Next Page
To Previous Page IconTo Previous Page
To Previous Page IconTo Previous Page
Loading...
SECTION 2 - OPERATION
2-54
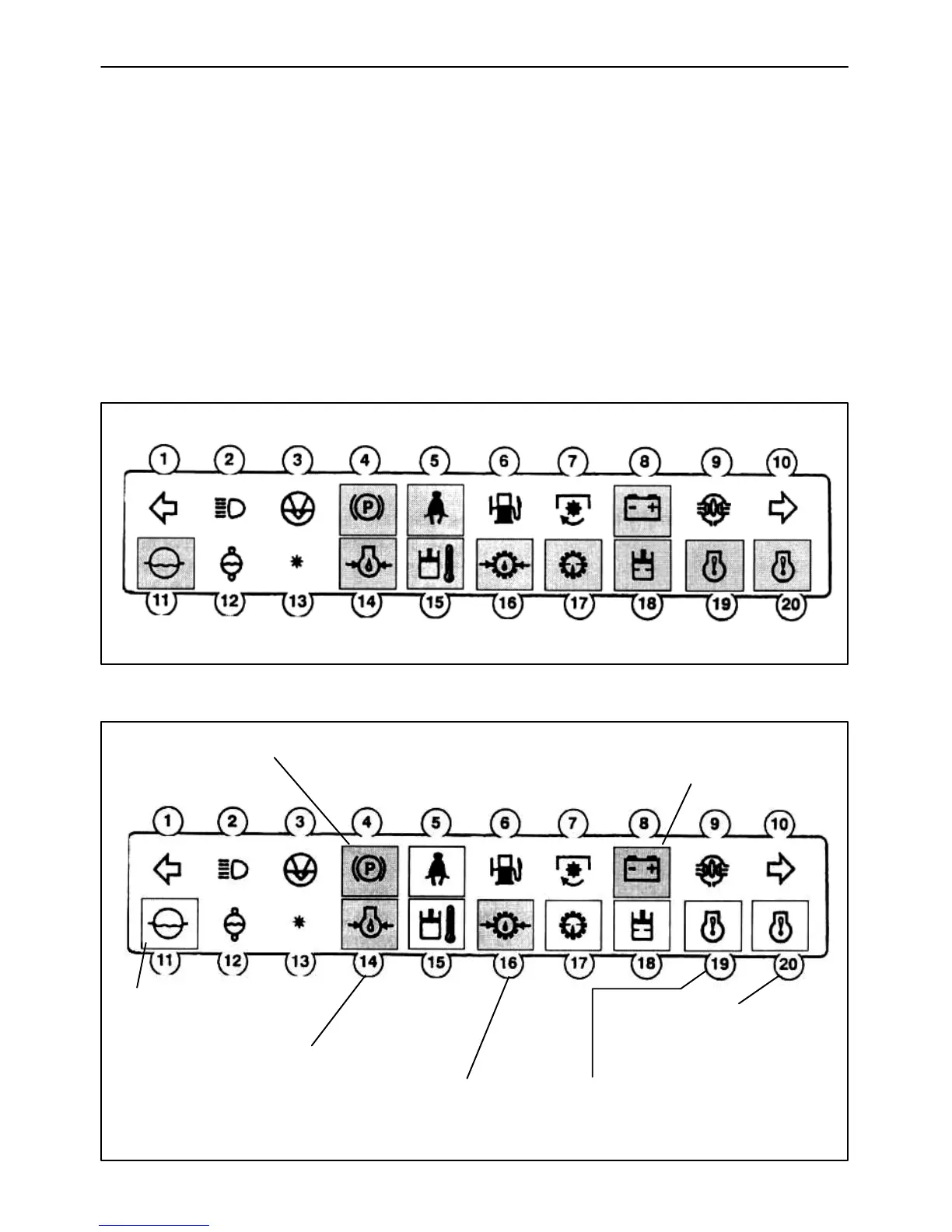
Key to the “ENGINE START” Position -
Engine Cranking
When the key turns to the “ENGINE START”
position, the engine starts to crank and the four
lights illuminated with the switch in the “RUN”
position remain on.
Key in the “RUN” Position - Engine
Running
Once the engine is running, the Engine Oil
Pressure and Transmission Lube Pressure
lamps will go out as soon as sufficient pressure
builds up to cancel the warnings. The alternator
output lamp will also go out when the alternator
begins to charge. The park brake goes out when
the park brake is released. Any other illuminated
light indicates a problem.
NOTE: In low, ambient temperatures the
transmission lube filter and the hydraulic filter
by-pass light may stay on until the oil reaches
operating temperature.
At first key “ON” the following warning lamps will illuminate
After a few seconds only the following w arning lamps should remain on
PARK BRAKE MUST BE ENGAGED
FORTHISLAMPTOBEON.
ALTERNATOR NOT CHARGING
LAMP WILL REMAIN ON UNTIL
ENGINE IS RUNNING
ENGINE COOLANT LEVEL LAMP
WILL ONLY REMAIN ILLUMINATED
IF THE ENGINE COOLANT LEVEL IS
LOW.
ENGINE OIL PRESSURE LAMP
WILL REMAIN ON UNTIL ENGINE IS
RUNNING
TRANSMISSION LUBE PRESSURE
MUST REMAIN ILLUMINATED. IF
LAMP DOES NOT TURN ON CHECK
TRANSMISSION LUBE PRESSURE
SWITCH ON TRANSMISSION.
YELLOW ENGINE WARNING LAMP WILL
REMAIN ILLUMINATED ONLY IF AN ENGINE
FAULT CODE IS ACTIVE. REFER TO ENGINE
DIAGNOSTICS SECTION IF THIS LAMP
REMAINS ON.
RED ENGINE WARNING LAMP WILL REMAIN
ILLUMINATED ONLY IF AN ENGINE FAULT
CODE IS ACTIVE. REFER TO ENGINE
DIAGNOSTIC SECTION IF THIS LAMP
REMAINS ON.

Table of Contents

Related product manuals