EasyManua.ls Logo

CASE CONSTRUCTION CX160C - Cooling System

CASE CONSTRUCTION CX160C
290 pages
Print Icon
To Next Page IconTo Next Page
To Next Page IconTo Next Page
To Previous Page IconTo Previous Page
To Previous Page IconTo Previous Page
Loading...
6-MAINTENANCE
Coolingsystem
Servicespecications
Expansionreservoirlevelcheck:Every10hoursoreveryday
Radiatorhoseclamptighteningcheck:Every250hoursorevery6months
Drainingthecoolingsystem(long-term):Every1000hoursorevery2years
Drainingthecoolingsystem(withanti-freeze):Twiceayear
Coolingsystemcapacity:16.2L(4.280USgal)
Coolanttype:(Refertopage6-4
CAUTION
Burnhazard!
Takecareifremovingthellercapwhilethesystemishot.Beforeremovingthecap:completelycover
thecapusingathickcloth,andslowlyopenthellercaptoallowthepressuretoescape.Donotadd
coldwatertoahotcoolantreservoir.
Failuretocomplycouldresultinminorormoderateinjury.
C0031A
WARNING
Hazardouschemicals!
Coolantcanbetoxic.Avoidcontactwithskin,eyes,andclothing.Antidotes:
EXTERNAL-Rinsethoroughlywithwater.Removesoiledclothing.
INTERNAL-Rinsethemouthwithwater.DONOTinducevomiting.Seekimmediatemedicalattention.
EYES-Flushwithwater.Seekimmediatemedicalattention.
Failuretocomplycouldresultindeathorseriousinjury.
W0282A
NOTICE:Checkandservicethecoolingsystemaccordingtotheinstructionsgiveninthismanual.
Coolantsolution
Putonlyethylene-glycolcoolantsolutioninthecooling
system.Usegoodqualityethylene-glycolthathasahigh
boilingpoint,withnoadditivestopreventleakage.Do
notusenon-approvedanti-rustadditives.Anti-rustaddi-
tivesandethylene-glycolcanmixandworkagainsteach
other,therebyreducinganti-corrosionprotection,forming
depositsinthecoolingsystemandcausingdamagetothe
coolingsystemandradiator.
ConsultyourCASECONSTRUCTIONDealerwhowill
supplyyouwiththesuitablecoolant.
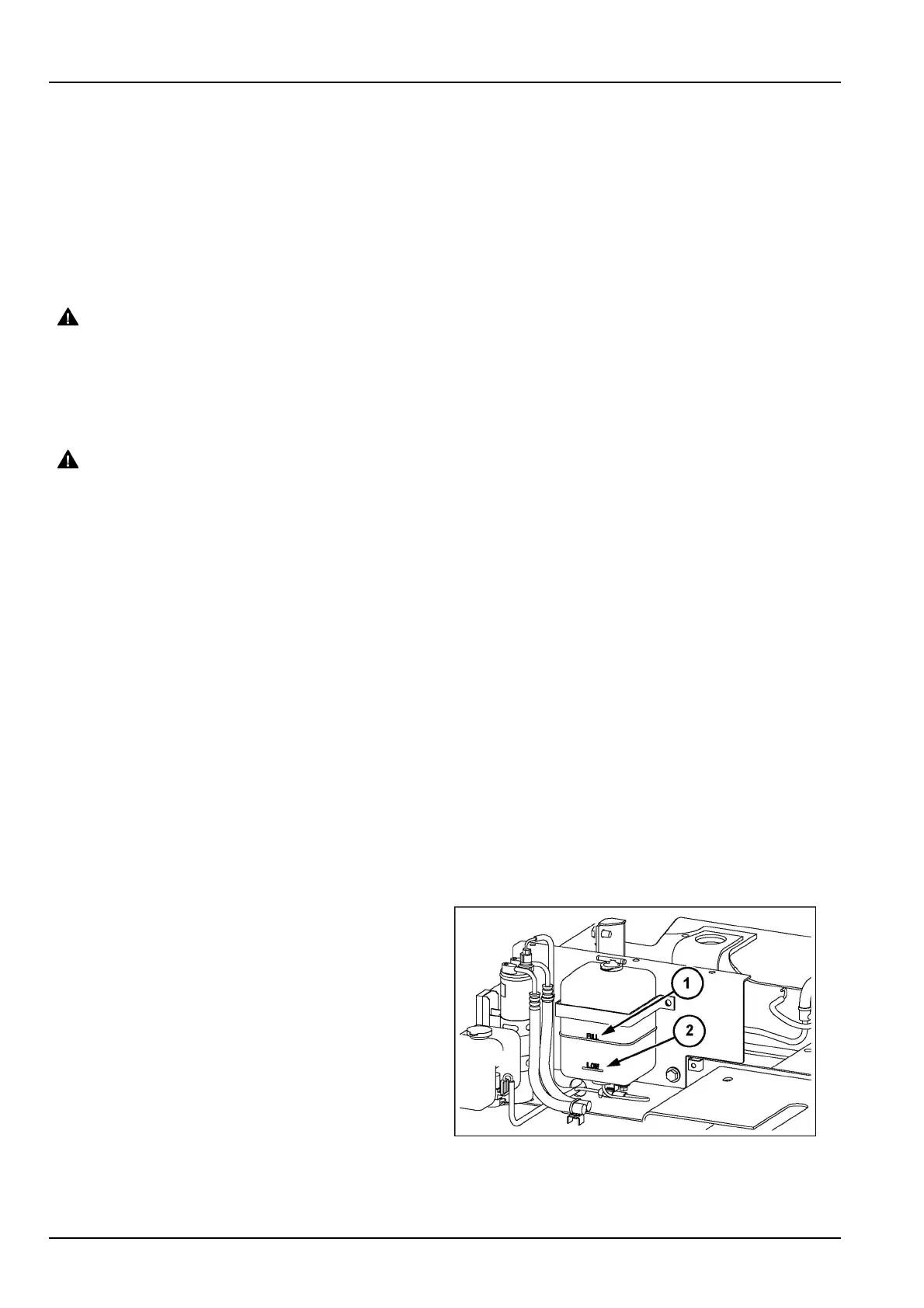
Level
Thelevelofcoolantsolutionshouldbecheckedwhenthe
engineiscold.
Onat,levelground,beforeusingthemachine(whilethe
engineisstillcold),thelevelintheexpansionreservoir
shouldbebetweenthe"full"(1)and"Low"(2)marks.If
not,see"lling".
SMIL15CEXX730AB1
6-24

Table of Contents

Related product manuals