EasyManua.ls Logo

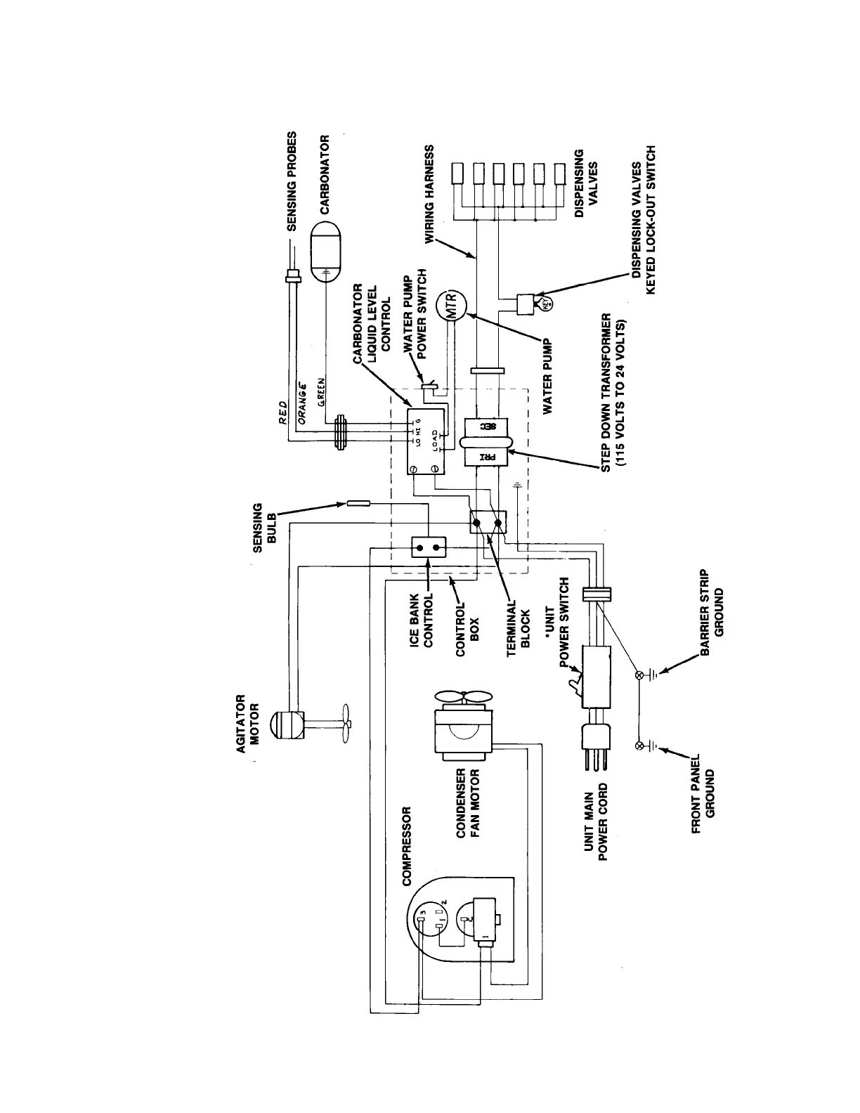
Cornelius VENTURE - Figure 16. Wiring Diagram (60 Hz Unit with 1;4 H.p. Refrigeration Assembly and Built-In Cold Carbonator)

Cornelius VENTURE
61 pages
Print Icon
To Next Page IconTo Next Page
To Next Page IconTo Next Page
To Previous Page IconTo Previous Page
To Previous Page IconTo Previous Page
Loading...
41
318832000
*60 HZ UNITS ONLY
FIGURE 16. WIRING DIAGRAM (60 HZ UNIT WITH 1/4 H.P. REFRIGERATION ASSEMBLY AND BUILT-IN COLD CARBONATOR)

Table of Contents

Related product manuals