EasyManua.ls Logo

DOM GUARD - Page 128

DOM GUARD
241 pages
Print Icon
To Next Page IconTo Next Page
To Next Page IconTo Next Page
To Previous Page IconTo Previous Page
To Previous Page IconTo Previous Page
Loading...
Installation
128
The handle with lever handle is not shown in the section which follows.
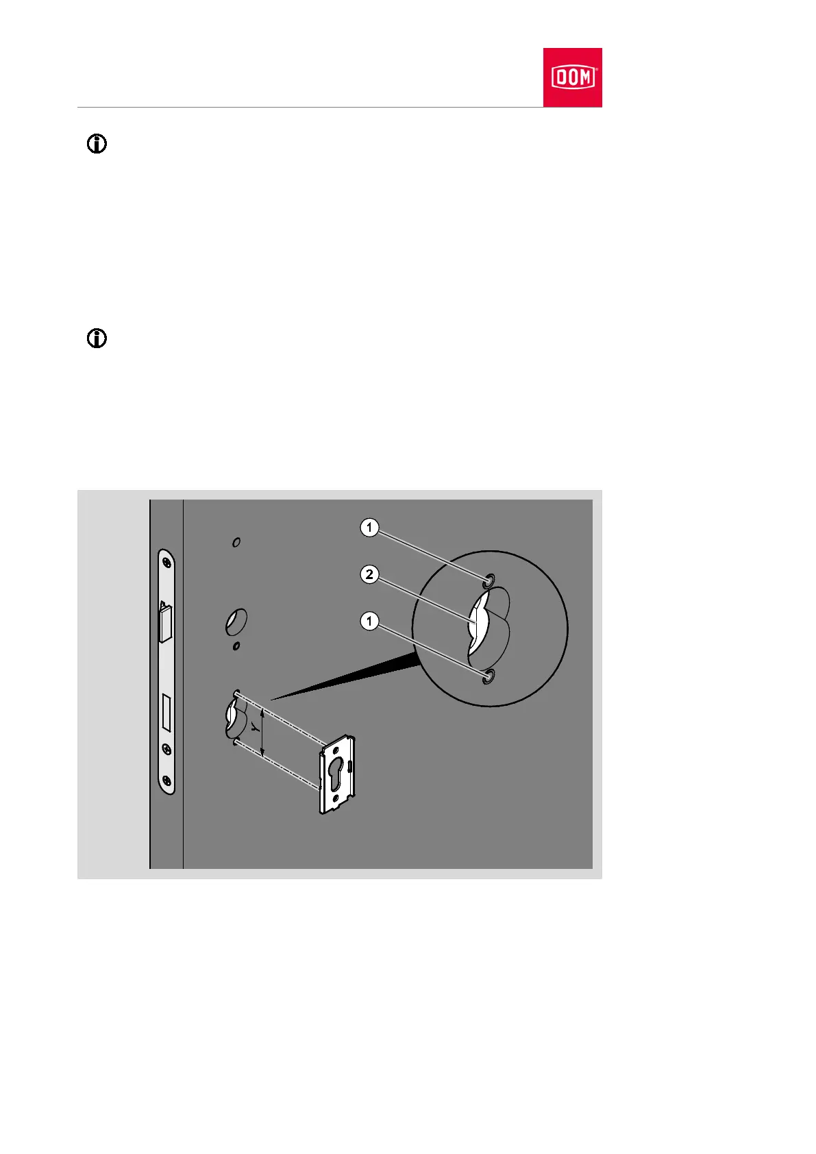
The assembly profiles for the cylinder rosette are screwed in place on both
sides of the door with two short screws each.
Ensure that both screw attachment points (1) on the door leaf have the
correct distance of 50 mm.
Make sure that the screw attachment points are positioned correctly in
relation to the lock cylinder (2).
The lock cylinder should be inserted in order to simplify the alignment.
Screw the assembly profile on the outside onto the door leaf with two short
screws on the screw attachment points.
Tighten the short screws so they are hand tight.
Fit the assembly profile for the cylinder rosette on the inside in the same
way.

Table of Contents