EasyManua.ls Logo

DOM GUARD - Page 165

DOM GUARD
241 pages
Print Icon
To Next Page IconTo Next Page
To Next Page IconTo Next Page
To Previous Page IconTo Previous Page
To Previous Page IconTo Previous Page
Loading...
Installing
handle
165
If necessary remove the cover from the electronic assembly profile as
described from page 237 onwards.
You must attach the spindle and lever handle to the handle prior to attaching
the handle in position.
The attachment of the lever handle to the electronic handle is described
from page
60 onwards.
The attachment of the spindle is described from page
63 onwards.
The attachment of the spindle with reducing bushes is described from
page 66 onwards.
A GUARD Slimline long plate is presented in the section which follows.
The procedure for other handles is no different from the one described
here.
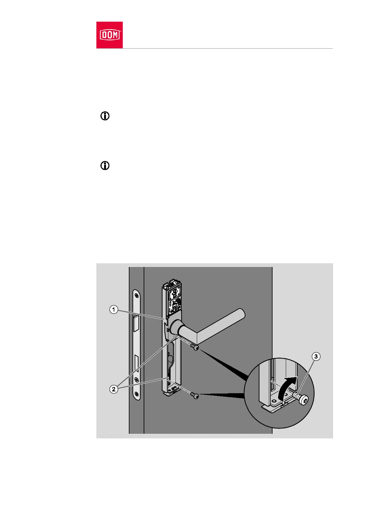
Insert the spindle in the electronic assembly profile (1) on the outside into
the spindle hub.
Press the assembly profile on the door leaf until it comes to a stop.
Insert two suitable short screws (3) into the centre and lower drill hole (2).
Tighten the centre short screw so it is hand tight.
Tighten the lower short screw so it is hand tight.

Table of Contents