EasyManua.ls Logo

DOM GUARD - Page 174

DOM GUARD
241 pages
Print Icon
To Next Page IconTo Next Page
To Next Page IconTo Next Page
To Previous Page IconTo Previous Page
To Previous Page IconTo Previous Page
Loading...
Installation
174
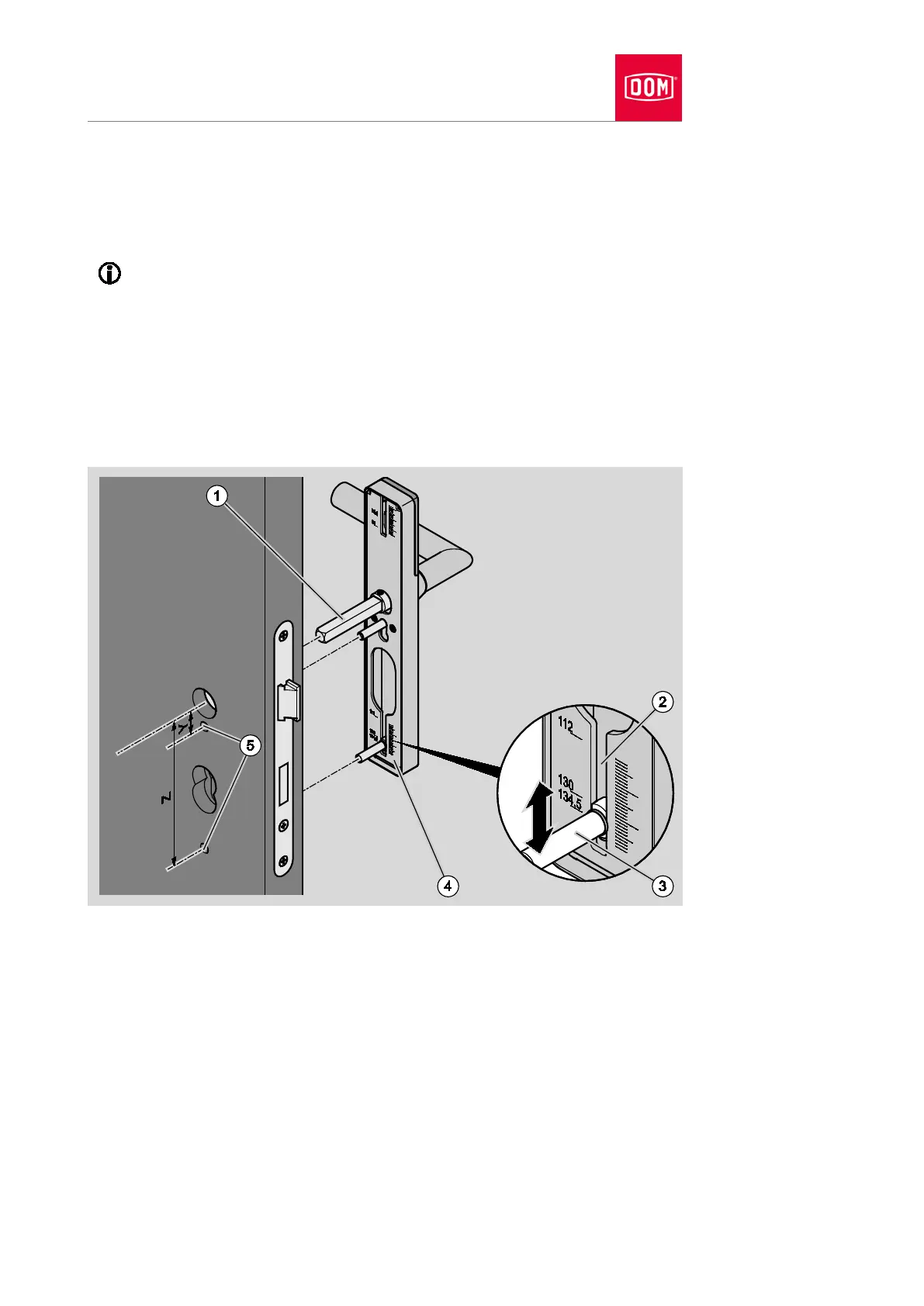
Insert the two threaded bushes (3) through the respective recesses into the
two lower guide slots (2) in the assembly profile (4) as shown.
Push the threaded bushes to the desired positions in line with the
measurements established.
Scales are attached on the inside of the assembly profile next to the
upper and lower guide slot for this purpose.
Insert the spindle (1) into the spindle hub.
Insert the threaded bushes into the drill holes (5) on the door.
If necessary, move the threaded bushes until the threaded bushes can be
inserted easily into the drill holes.
Press the assembly profile (4) onto the door leaf.

Table of Contents