EasyManua.ls Logo

DOM GUARD - Page 231

DOM GUARD
241 pages
Print Icon
To Next Page IconTo Next Page
To Next Page IconTo Next Page
To Previous Page IconTo Previous Page
To Previous Page IconTo Previous Page
Loading...
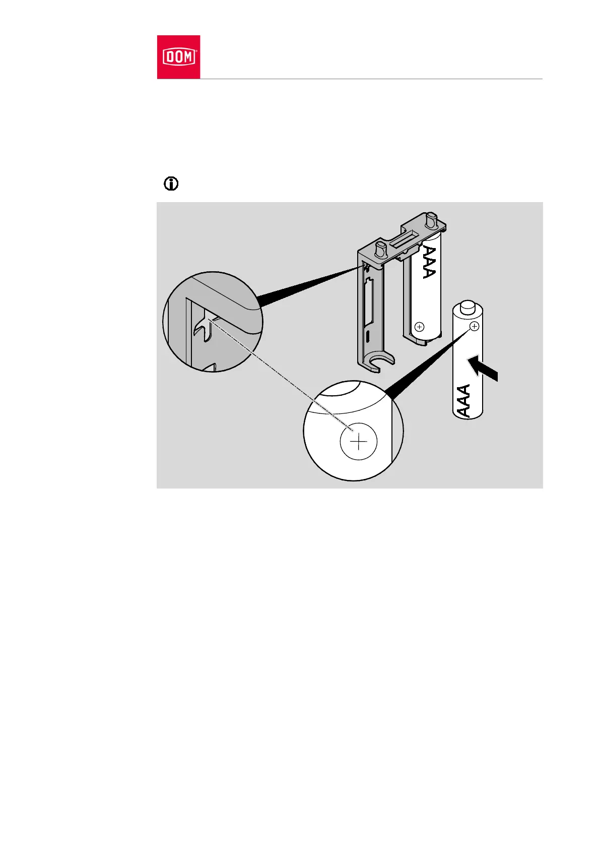
Changing batteries
231
Take the used batteries out of the battery holder.
Dispose of the used batteries in line with the locally applicable regulations.
Insert the new batteries of the same type into the battery holder with the
correct polarity as shown.
The correct polarities are marked on the battery holder.
Hold the battery holder on the gripping pins and insert it into the battery
compartment.
Slide the battery holder carefully into the battery compartment until both
parts of the unlocking mechanism audibly click into place.
You will hear a signal tone following insertion of the batteries. The LEDs briefly
light up.

Table of Contents