EasyManua.ls Logo

EIP 545A - Page 32

EIP 545A
221 pages
Print Icon
To Next Page IconTo Next Page
To Next Page IconTo Next Page
To Previous Page IconTo Previous Page
To Previous Page IconTo Previous Page
Loading...
MULTIPLIER
MULTIPLIER
1
TO
X1
FVCO
=
375 MHz
1
MULTIPLIER
INCREMENT
Fvco
BY
10
MHz
..-
,
I-,"
FVCO
=
425 MHz
FVCO
=
425 MHz
a
COUNT
FIF (21
1
FvCO
-
489.9 Mhz
I
I
1
CONVERTER LOCKED
I
I
N- MULTIPLIER
I
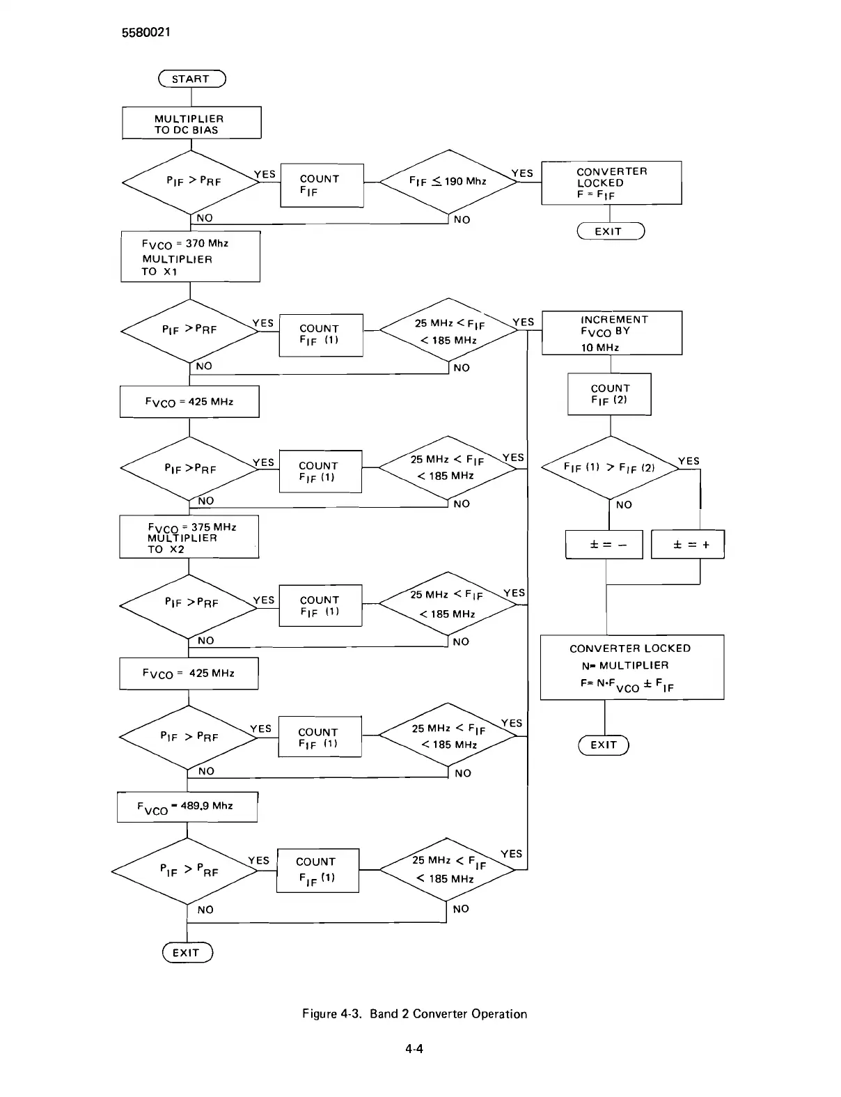
Figure
4-3.
Band
2
Converter Operation
4-4
Scans by ArtekMedia © 2007

Table of Contents