EasyManua.ls Logo

EIP 545A - Page 56

EIP 545A
221 pages
Print Icon
To Next Page IconTo Next Page
To Next Page IconTo Next Page
To Previous Page IconTo Previous Page
To Previous Page IconTo Previous Page
Loading...
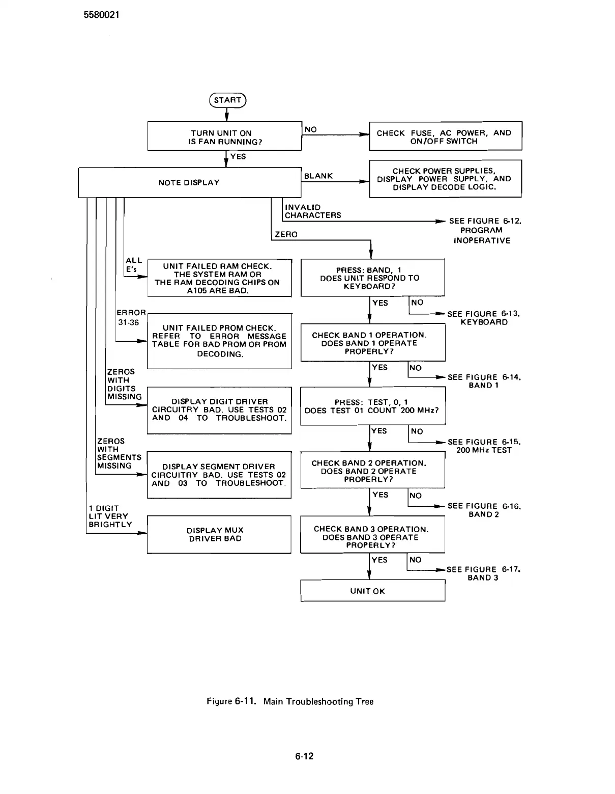
BLANK
CHECK POWER SUPPLIES,
NOTE DISPLAY
DISPLAY POWER SUPPLY, AND
DISPLAY DECODE LOGIC.
TURN UNIT ON
IS FAN RUNNING?
INVALID
CHARACTERS
-
SEE FIGURE 612.
UNlT FAILED RAM CHECK.
THE SYSTEM RAM OR
THE RAM DECODING CHIPS ON
A105 ARE BAD.
NO
--
1 1 1
31-31 UNIT FAILED PROM CHECK.
REFER TO ERROR MESSAGE
TABLE FOR BAD PROM OR PROM
CHECK FUSE, AC POWER, AND
ONlOFF SWITCH
Ill I
DECODING.
I
ZEROS
I
I
I
(
lM'ss'Nq
DISPLAY DlGlT DRIVER
CIRCUITRY BAD. USE TESTS 02
I
I
1
AND 04 TO TROUBLESHOOT.
I
p:TS
I
DISPLAY SEGMENT DRIVER
CIRCUITRY
BAD.
USE
TESTS
02
AND 03 TO TROUBLESHOOT.
1
DIGIT
LIT VERY
BRIGHTLY
DISPLAY MUX
DRIVER BAD
PRESS: BAND, 1
DOES UNlT RESPOND TO
KEYBOARD7
PROGRAM
INOPERATIVE
SEE FIGURE 6-13.
KEYBOARD
CHECK BAND
1
OPERATION.
DOES BAND
1
OPERATE
PROPERLY7
,
IyEs
kIsEE
FIGURE 6-14.
BAND
1
PRESS: TEST, 0,
1
DOES TEST 01 COUNT 200 MHz7
200 MHz TEST
CHECK BAND 2 OPERATION.
DOES BAND 2 OPERATE
PROPERLY7
SEE FIGURE 6-16.
BAND 2
CHECK BAND 3 OPERATION.
DOES BAND 3 OPERATE
PROPERLY
7
,
ly
Es
kIsEE
FIGURE 6-17.
BAND 3
UNlT OK
Figure
6-1
1.
Main Troubleshooting Tree
Scans by ArtekMedia © 2007

Table of Contents