EasyManua.ls Logo

EIP 545A - Page 57

EIP 545A
221 pages
Print Icon
To Next Page IconTo Next Page
To Next Page IconTo Next Page
To Previous Page IconTo Previous Page
To Previous Page IconTo Previous Page
Loading...
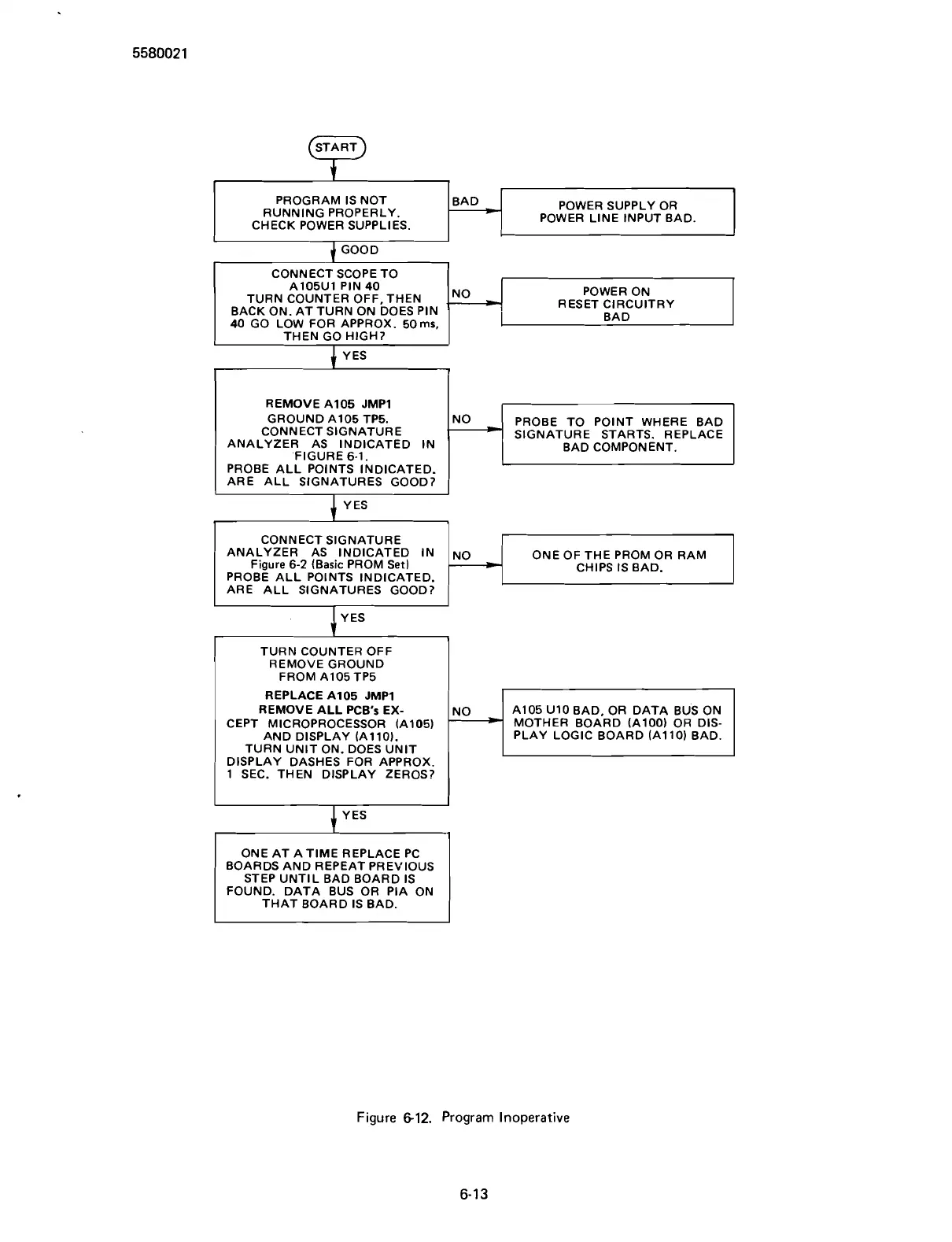
START
s.
PROGRAM IS NOT
RUNNING PROPERLY.
POWER SUPPLY OR
CHECK POWER SUPPLIES.
POWER
LINE INPUT BAD.
I
1
I
I
4
GOOD
I
CONNECT SCOPE TO
I
A105U1 PIN 40
TURNCOUNTEROFF,THEN
POWER ON
BACK ON. AT TURN ON DOES PIN
RESET CIRCUITRY
-a-
I
40 GO-LOW
FOR
APPROX:
50
ms,
I
BHU
I
THEN GO HIGH?
YES
CONNECT SIGNATURE
ANALYZER AS INDICATED IN ONE OF THE PROM OR RAM
Figure 6-2 (Basic PROM Set)
CHIPS IS BAD.
PROBE ALL POINTS INDICATED.
ARE ALL SIGNATURES GOOD?
REMOVE A105 JMPl
GROUND A105 TP5.
CONNECT SIGNATURE
ANALYZER AS INDICATED IN
'FIGURE 6-1.
PROBE ALL POINTS INDICATED.
ARE ALL SIGNATURES GOOD?
YES
TURN COUNTER OFF
REMOVE GROUND
FROM A105 TP5
REPLACE A105 JMPl
REMOVE ALL PCB's EX-
CEPT MICROPROCESSOR
(A1051
AND DISPLAY (A1 10).
TURN UNIT ON. DOES UNIT
DISPLAY DASHES FOR APPROX.
1 SEC. THEN DISPLAY ZEROS?
YES
1
1
N
0
A105 U10 BAD, OR DATA
BUS
ON
MOTHER BOARD
(A100) OR DIS-
PLAY LOGIC BOARD (A1 10) BAD.
PROBE TO POINT WHERE BAD
SIGNATURE STARTS. REPLACE
BAD COMPONENT.
1
YES
ONE AT A TIME REPLACE PC
BOARDS AND REPEAT PREVIOUS
STEP UNTIL BAD BOARD IS
FOUND. DATA BUS OR PIA ON
THAT BOARD IS BAD.
Figure
612.
Program Inoperative
Scans by ArtekMedia © 2007

Table of Contents