EasyManua.ls Logo

ESI 900 - Function 164: Esi-Link and line group access codes; Function 165: Auto attendant parameters

ESI 900
178 pages
Print Icon
To Next Page IconTo Next Page
To Next Page IconTo Next Page
To Previous Page IconTo Previous Page
To Previous Page IconTo Previous Page
Loading...
IP Server 900 Programming Manual Function 1: System function programming
D.7
Function 164: Esi-Link and line group access codes
Without Esi-Link installed, line group access codes 71–76
aren’t reserved for a particular purpose.
1
But, with Esi-Link
installed, these codes are automatically reserved for
Esi-Link location access, as shown in the chart at right.
However, even if Esi-Link is installed, the Installer can
manually change codes 71–76 using Function 164.
Once these codes are manually changed, the Esi-Link
location numbers beginning with the same two digits can no
longer be used (e.g., if line access code 71 is changed for
non-Esi-Link use, Esi-Link location numbers 710–719 are no
longer available).
Function 165: Auto attendant parameters
Field 1: Auto attendant inter-digit timer
Make this setting higher if callers complain that they don’t have enough time to dial before either the
system sends them to the wrong destination or they hear “Your entry was not valid”; make it lower if they
say it pauses too long after they dial digits. This sets the time after the first digits has been entered and
before the entered number is accepted as being complete (time between each digit dialed). Expressed in
1/100s of seconds.
Range: 40–1000 (i. e., 400 ms to 10 seconds). Default: 200 (i.e., 2 seconds)
Field 2: Auto attendant no-response timer
Adjust if the time after the playing of the auto attendant greeting is too long (or too short) before the system
follows the no-response (call-forward) destination of a menu or directory. Sets auto attendant’s no-
response timeout time. This is how long the auto attendant waits until after the menu plays all options.
Expressed in 1/100s of seconds.
Range: 50–6000 (i. e., 500 ms to 1 minute). Default: 300 (i.e., 3 seconds).
Field 3: ACD beep
Enables or disables the ACD beep tone (same as the “new message” beep) given to agents logged into
an ACD department when they’re in a busy condition and a call goes into queue.
Range: 0 (enabled) or 1 (disabled). Default: 0 (enabled).
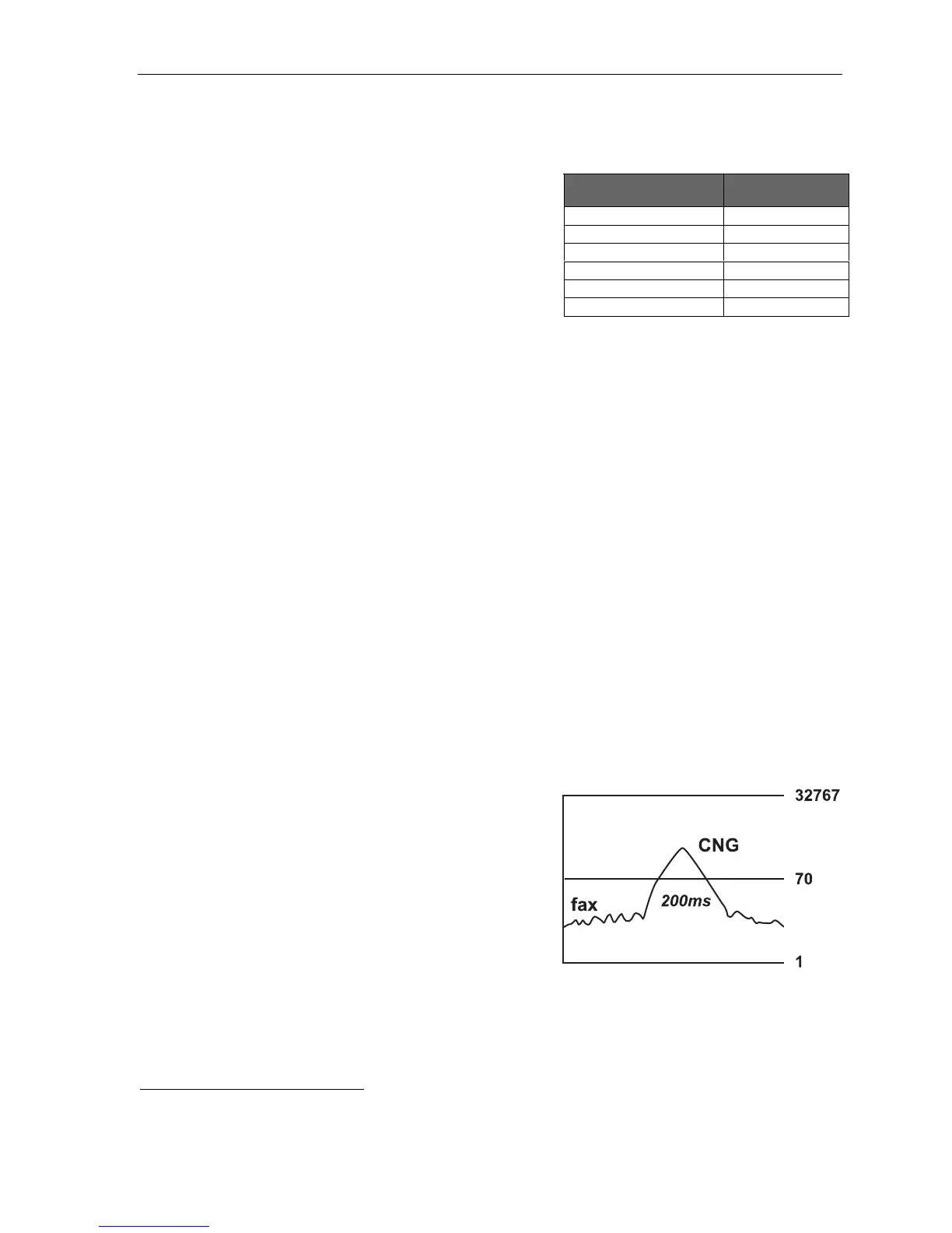
Field 4: Fax energy level (CNG tone)
Adjust this level if fax calls aren’t routing properly when
the auto attendant answers. Increasing (or decreasing)
this field causes the system to look for more (or less)
CNG tone to detect whether it’s a valid tone. This is a
threshold level, so setting it too low may cause the system
to route all calls to the fax port. The energy level of a fax
signal must exceed this setting for more than 200 ms.
Range: 1–32767. Default: 70.
Field 5: Name key digits
(Number of digits used for the auto attendant directory
branch name key
2
) This is the number of digits corresponding to the number of letters the system will
prompt an outside caller to enter when in an auto attendant directory branch.
Range: 1–3. Default: 3.
1
I.e., as are line access numbers 9 and 8.
2
See “Function 62: Record directory names,” p. I.2.
Numbering of locations or line groups
Esi-Link location
number range (default)
Line group access
(if selected)
710–719 71
720–729 72
730–739 73
740–749 74
750–759 75
760–769 76

Table of Contents

Related product manuals