EasyManua.ls Logo

Furuno 1815 - Page 20

Furuno 1815
148 pages
Print Icon
To Next Page IconTo Next Page
To Next Page IconTo Next Page
To Previous Page IconTo Previous Page
To Previous Page IconTo Previous Page
Loading...
1. INSTALLATION
1-7
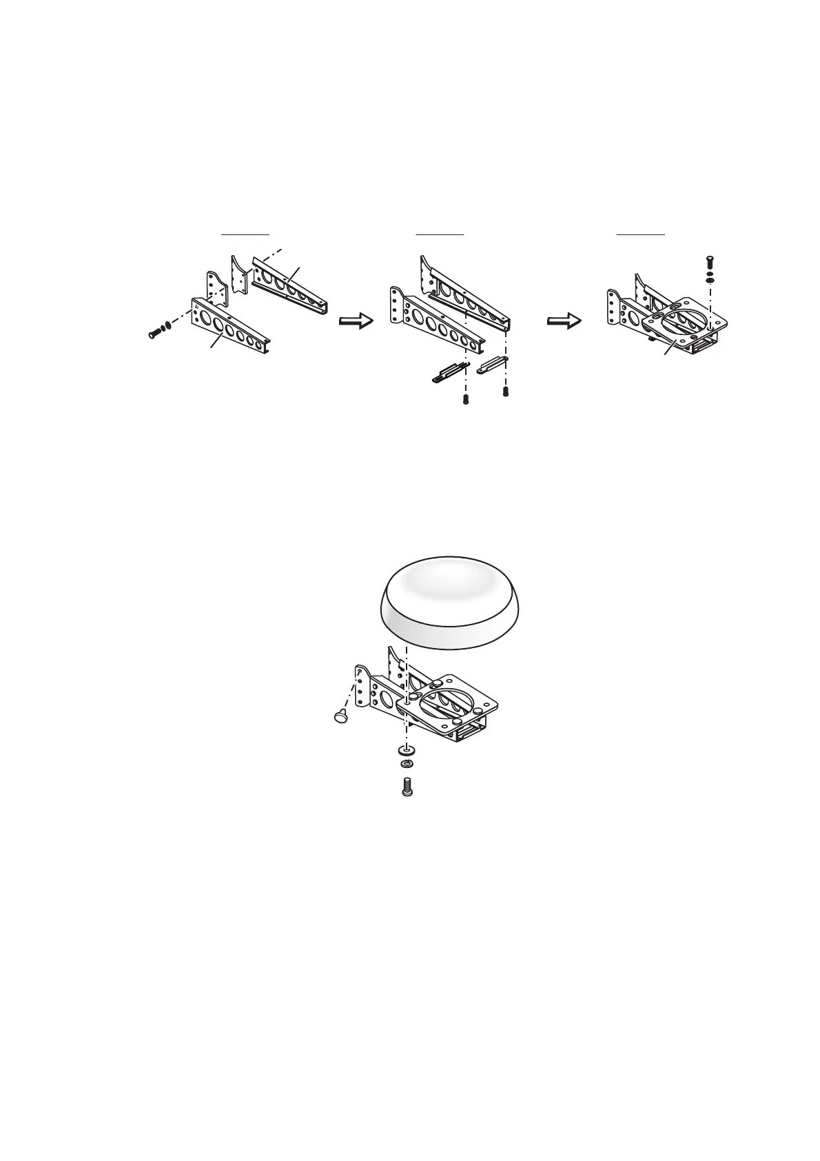
How to assemble the bracket:
1. Fasten the fixing plates to brackets (1) and (2) with four M820 hex bolts.
2. Fit brackets (1) and (2) loosely with support plates (1) and (2) using four M412
hex bolts, so that the gap between the brackets can be adjusted.
3. Place the mounting plate on the bracket and fix it loosely with four M820 hex
bolts.
How to fasten the bracket to the mast:
1. Drill eight holes of 6.5 mm into the mast. Fasten the bracket to the mast with
eight stainless steel rivets whose diameter is 6.4 mm.
2. Tighten the bolts on the bracket.
3. Fasten the antenna unit to the bracket.
Fixing plate
Bracket (2)
Bracket (1)
Bracket (2)
Bracket (1)
M8×20
M4×12
M4×12
Mounting
plate
Dwg (1)
Dwg (2) Dwg (3)
M8×20
M8×20
M10×25
Rivet

Table of Contents

Related product manuals