EasyManua.ls Logo

INVT Goodrive 200 - Layout Protection

INVT Goodrive 200
253 pages
Print Icon
To Next Page IconTo Next Page
To Next Page IconTo Next Page
To Previous Page IconTo Previous Page
To Previous Page IconTo Previous Page
Loading...
Goodrive200 inverters Installation guidelines
36
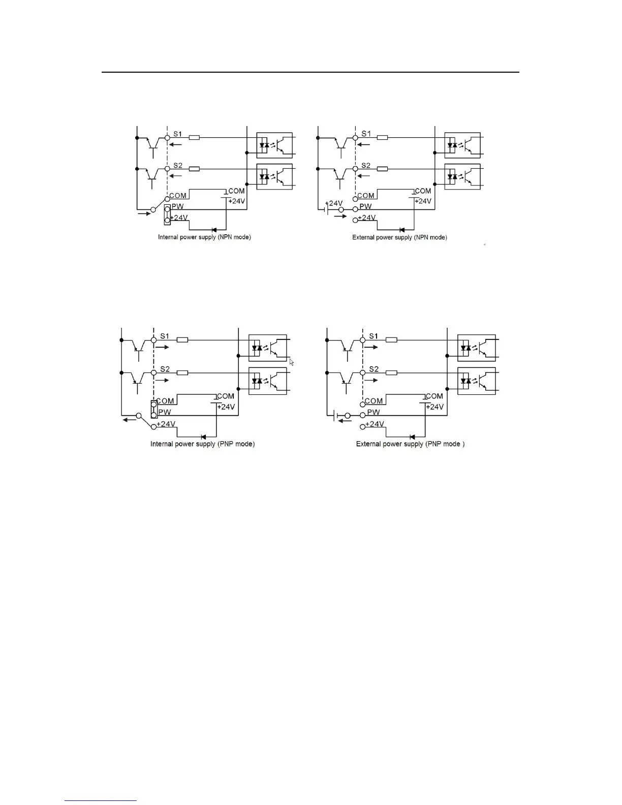
If the signal is from NPN transistor, please set the U-shaped contact tag between +24V and
PW as below according to the used power supply.
Fig 4-22 NPN modes
If the signal is from PNP transistor, please set the U-shaped contact tag as below according
to the used power supply.
Fig 4-23 PNP modes
4.4 Layout protection
4.4.1 Protecting the inverter and input power cable in short-circuit situations
Protect the inverter and input power cable in short circuit situations and against thermal
overload.
Arrange the protection according to the following guidelines.

Table of Contents

Related product manuals