EasyManua.ls Logo

Ioline FlexJet - Ioline Flexjet (Electronics View)

Default Icon
102 pages
Print Icon
To Next Page IconTo Next Page
To Next Page IconTo Next Page
To Previous Page IconTo Previous Page
To Previous Page IconTo Previous Page
Loading...
95
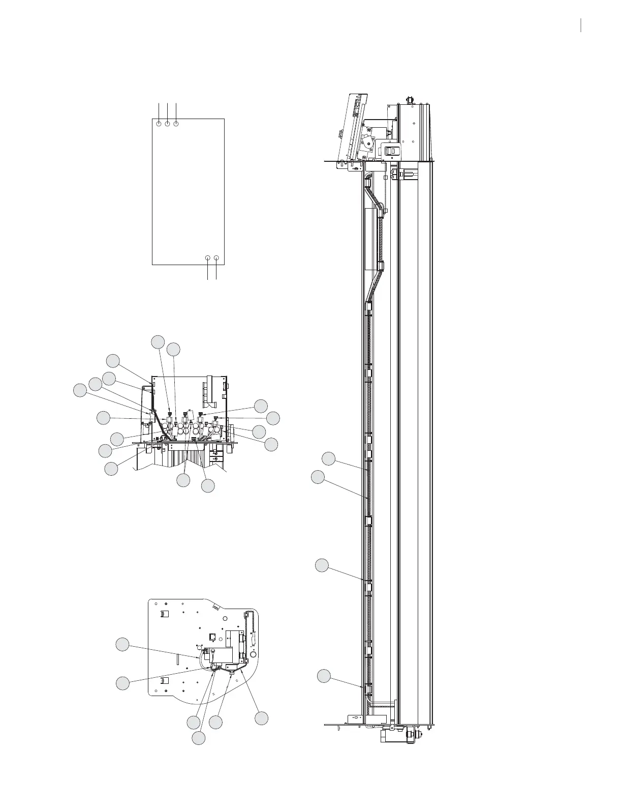
Chapter 5: Parts & Drawings
GRN/YEL
BLK
GRN
COM
V1
NEUTRAL
LINE
WHT
BLK
56
55
57
57
58
59
60
62
63
64
65
66
84
4X
82
4X
34
3X
35
2X
63
REF
55
REF
56
REF
35
20X
33
9X
56
REF
57
REF
POWER SUPPLY WIRING
GND
35
10X
33
VIEW A-A
VIEW B-B
VIEW C-C
DETAIL D
3
KEYPAD
Ioline FlexJet
(Electronics view)
Ioline FlexJet (P/N: 107772)

Table of Contents

Other manuals for Ioline FlexJet

Related product manuals