EasyManua.ls Logo

Kidde AEGIS 84-732001-001

Kidde AEGIS 84-732001-001
90 pages
To Next Page IconTo Next Page
To Next Page IconTo Next Page
To Previous Page IconTo Previous Page
To Previous Page IconTo Previous Page
Loading...
Installation
August 2007 2-12 P/N 06-236716-001
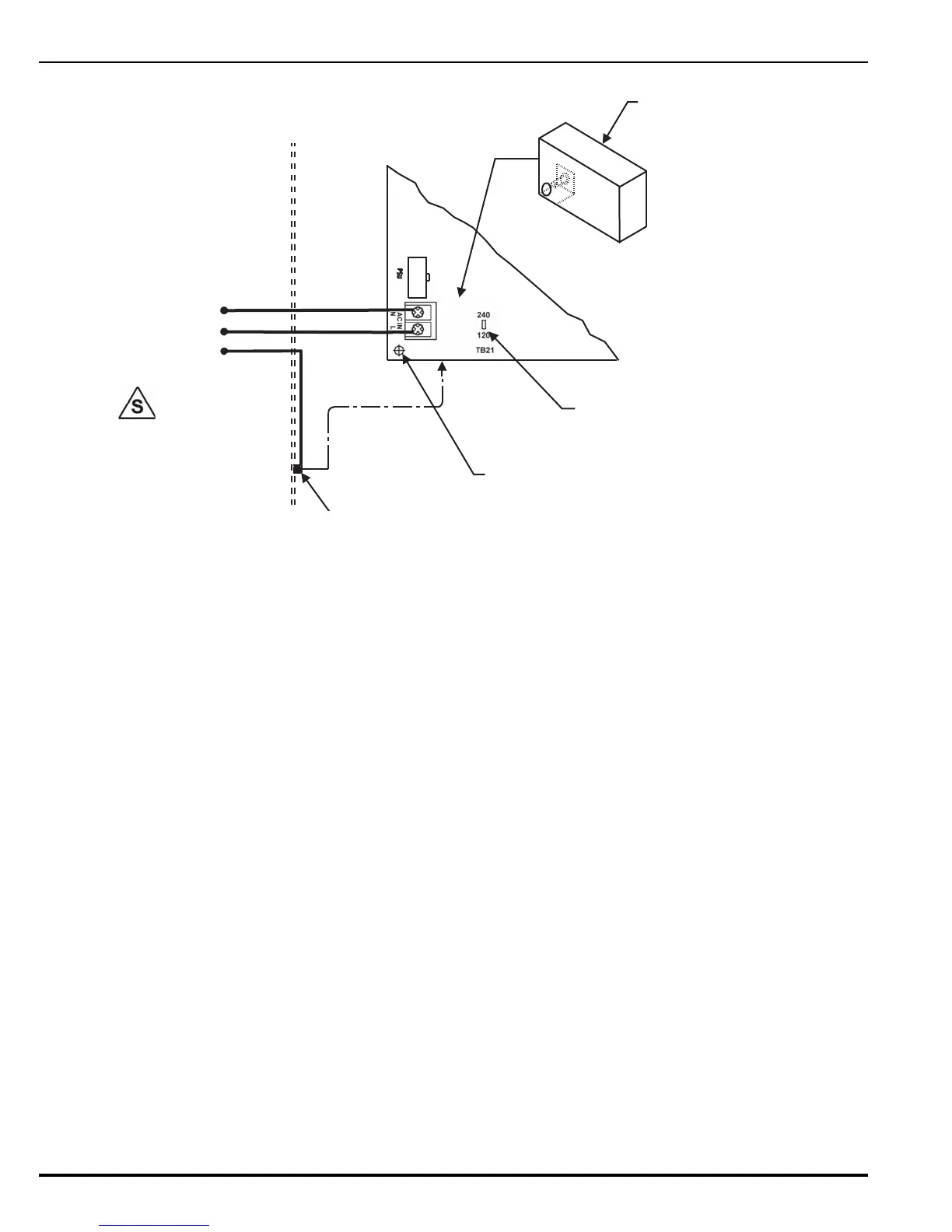
Figure 2-10. Primary Power Connections
4. To install the Protective Cover for AC Power input, fold along scored lines as shown in
Figure 2-10.
5. Insert spacer and align thru holes and spacer with PCB standoff in lower left corner.
6. Attach to PCB with nylon screw.
ENCLOSURE WALL
WHITE (NEUTRAL)
BLACK (LINE/HOT)
GREEN (GREEN)
POWER CONNECTIONS
FROM AC SUPPLY
LOWER LEFT CORNER OF
PRINTED CONTROL BOARD
AC POWER SELECTION SLIDE SWIT
C
DOWN FOR 120 Vac / UP FOR 220-240
STANDOFF FOR AC PROTECTIVE COVER
PROTECTIVE COVER
FOR AC POWER INPUT
TB13
TO PSU
EARTH GND
SUPERVISED

Table of Contents

Related product manuals