EasyManua.ls Logo

Krone Profi Liner - Page 86

Krone Profi Liner
192 pages
Print Icon
To Next Page IconTo Next Page
To Next Page IconTo Next Page
To Previous Page IconTo Previous Page
To Previous Page IconTo Previous Page
Loading...
SUPERSTRUCTURE OPERATION
86
Operating instructions • Semitrailer • 505369471-04 • 02/2019
1 2
4
3
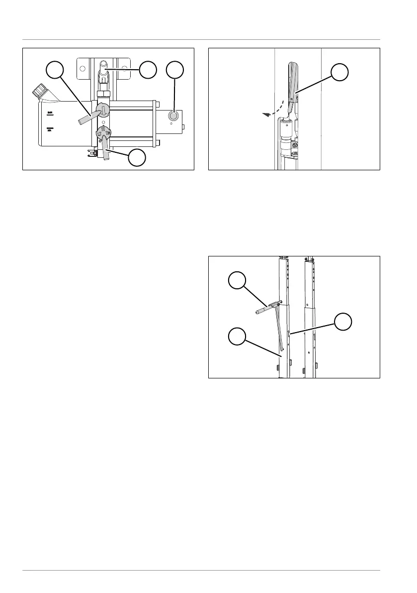
Fig.6-38: Central pump
1 “Raise/lower” lever
2 Emergency operating lever
3 Button
4 Curtain selection lever (right/left/both
sides)
Position the curtain selection lever as
needed.
Swivel the “raise/lower” lever upwards.
Press and hold the button until the de-
sired height is reached.
ü The roof is raised.
Lowering the roof
Position the curtain selection lever as
needed.
Swivel the “raise/lower” lever down-
wards.
ü The roof is lowered.
Adjusting the superstructure height
Lift the roof until the load on the adjust-
ment bolts on all four corners is re-
lieved (see "" pg.85).
1
Fig.6-39: Adjustment bolt in corner post
1 Adjustment bolt
Pull the adjustment bolt out of the
latched position and swivel outwards.
Allow the adjustment bolt to engage
again at the desired height.
1
3
2
Fig.6-40: Lifting aid
1 Lifting aid
2 Bolt
3 Post

Table of Contents

Related product manuals