EasyManua.ls Logo

LeeBoy 400T - 400 Main Frame Assembly (Part 2)

Default Icon
140 pages
Print Icon
To Next Page IconTo Next Page
To Next Page IconTo Next Page
To Previous Page IconTo Previous Page
To Previous Page IconTo Previous Page
Loading...
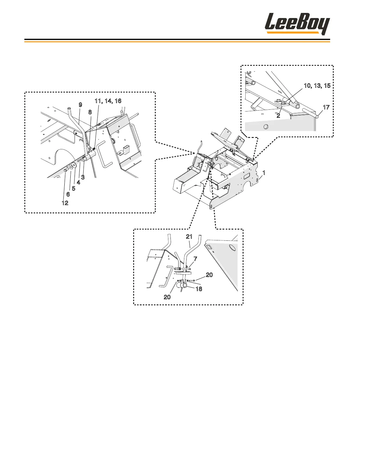
400 MAIN FRAME ASSEMBLY, 2 OF 2
Figure 7-2. 400 Main Frame Assembly, 2 of 2
17
10, 13, 15
2
7
18
20
21
8
20
6
12
5
4
3
9
11, 14, 16
1
Illustrated Parts List
LeeBoy Model 400 & 400T Rollers7-6

Table of Contents

Related product manuals