EasyManua.ls Logo

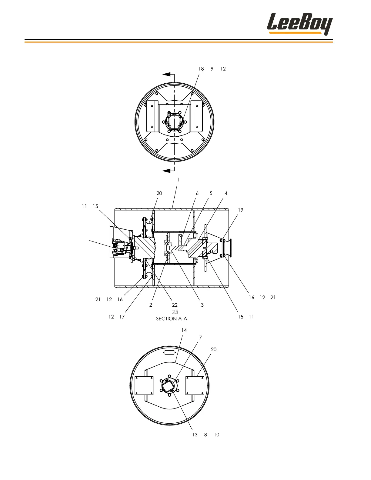
LeeBoy 400T - Rear Drum Assembly (Cut-Section)

Default Icon
140 pages
Print Icon
To Next Page IconTo Next Page
To Next Page IconTo Next Page
To Previous Page IconTo Previous Page
To Previous Page IconTo Previous Page
Loading...
REAR DRUM ASSEMBLY, CUT-SECTION
Figure 7-6. Rear Drum Assembly, Cut-Section
A
A
23
Illustrated Parts List
LeeBoy Model 400 & 400T Rollers7-14

Table of Contents

Related product manuals