EasyManua.ls Logo

LS tractor XP8084 - Page 174

LS tractor XP8084
288 pages
Print Icon
To Next Page IconTo Next Page
To Next Page IconTo Next Page
To Previous Page IconTo Previous Page
To Previous Page IconTo Previous Page
Loading...
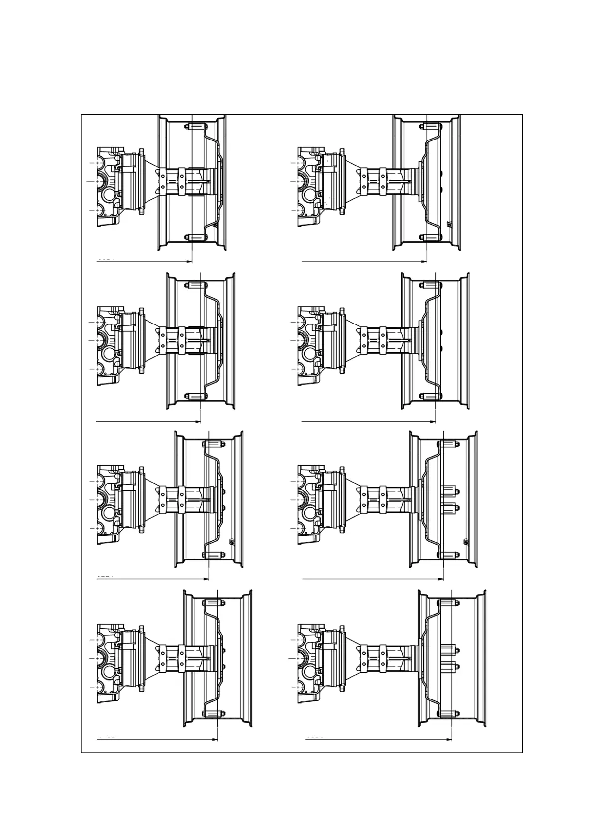
4 -32
Rear wheel track – 18.4-30 with rim&disk (W15x30)
Unit : mm (inch)
(Standard track)
1534(60.4in)
N/A
1638(64.5in)
1734(68.3in)
1838(72.4in)
N/A
N/A
N/A

Table of Contents

Related product manuals