EasyManua.ls Logo

MD Helicopters 369D - Page 297

MD Helicopters 369D
722 pages
Print Icon
To Next Page IconTo Next Page
To Next Page IconTo Next Page
To Previous Page IconTo Previous Page
To Previous Page IconTo Previous Page
Loading...
CSP-HMI-3
MD Helicopters, Inc.
MAINTENANCE MANUAL
[ Main Menu ]
[ HMI3 Book TOC ]
[ Chapter 96 TOC ]
96-01-00
Page 217
Revision 11
The information disclosed herein is proprietary to MD Helicopters, Inc.
Neither this document nor any part hereof may be reproduced or transferred to
other documents or used or disclosed to others for manufacturing or any other
purpose except as specifically authorized in writing by MD Helicopters, Inc.
Copyright © 19992016 by MD Helicopters, Inc.
P
T
C
W
F
A
B
D
E
M
N
L
H
J
K
S
V
R
U
X
J130P
BRN
ORN
VIO
GRAY
BLU
WHT/VIO
WHT/GRAY
WHT/BLU
WHT/GRN
WHT/BRN
WHT/YEL
WHT/RED
WHT/ORN
WHT
RED
YEL
GRN
BLK
SPARE
SW
L
R
UP
DN
S107
CYCLIC
TRIM
LEFT CYCLIC STICK
(TB5-4B) RV505B22
(E5) RV502A22N
(TB1-16C) M504H20
(TB5-2A) RV501A22
(TB1-16A) M503F20
(TB1-18D) M522A20
(TB1-18C) M521E20
(TB1-18B) D521C20
(TB1-18A) M520C20
(TB1-10A) A507A20
(TB1-10D) A506B20
(TB1-7B) A517C20
(TB1-7D) A510A20
(TB1-9A) A508B20
(TB1-9D) A509A20
(TB1-2B) C506C22
(TB1-3B) C504C22
(TB1-3D) C507C22
(TB1-1B) C508C22
(TB1-1D) C505C22
A
B
K
C
D
J
E
F
H
P112A20
P111D20
L104C20
L123B16
C110F20
C108F20
C109F20
(TB1-6C) K502B20
(TB1-6A) K510B20
(TB1-5D) L504B20
(E7) L505B20N
(TB1-4B) K505B20
(TB1-4D) K504B20
(TB1-5B) K506B20
S106
START
S105
LDG LT
S104
N2 GOV
CONTR
INCR
DECR
RIGHT COLLECTIVE STICK
J112P
G96-0016-4
L123A20N
SPARE
SW
1ST POS
COM
2ND POS
S109
TRIGGER
UP
DN
S110
POD
ELEV
A
B
C
D
E
F
H
J
K
(TB1-6D) K502G20
(TB1-6B) K510D20
(TB1-5C) L504D20
(E9) L543A20N
(TB1-4B) K505C20
(TB1-4D) K504C20
(TB1-5B) K506C20
J113P LEFT COLLECTIVE STICK
INCR
DECR
S108
N2 GOV
C110F20
C108G20
C109F20
P
T
C
W
F
A
B
D
E
M
N
L
H
J
K
S
V
R
U
X
J109P
BRN
ORN
VIO
GRAY
BLU
WHT/VIO
WHT/GRAY
WHT/BLU
WHT/GRN
WHT/BRN
WHT/YEL
WHT/RED
WHT/ORN
WHT
RED
YEL
GRN
BLK
XMIT
S111
RADIO
ICS
SPARE
SW
L
R
UP
DN
S103
CYCLIC
TRIM
RIGHT CYCLIC STICK
(TB5-2C) RV516C22
(E7) RV524A22N
(TB1-16D) M504J20
(TB5-1A) RV508D22
(TB1-16B) M503H20
(TB1-19D) M522C20
(TB1-19C) M521G20
(TB1-19B) M521F20
(TB1-19A) M520F20
(TB1-10B) A507C20
(TB1-10C) A506C20
(TB1-7A) A517A20
(TB1-7C) A510C20
(TB1-9B) A508C20
(TB1-9C) A509C20
(TB1-2B) C506D22
(TB1-3B) C504A22
(TB1-3C) C507A22
(TB1-1B) C506A22
(TB1-1D) C505A22
SPARE
SW
1ST POS
2ND POS
S101
TRIGGER
UP
DN
S102
POD
F
T
H
C
M
J
S
A
P
R
N
K
L
E
D
B
J200
(TB3-2B) A519A16
(TB3-2C) A518A16
(TB3-2D) A520A16
(TB3-3A) A521A16
(TB3-3B) A505A16
(TB3-3C) A523A16
(TB3-3D) A525A16
(TB10-1) A526AB
(TB1-9C) A509B20
(TB1-7C) A510B20
(TB1-7A) A517B20
(TB1-10A) A507B20
(TB3-2A) A524A16
(TB1-8D) A514C20
(TB1-8C) A515C20
(E9) A527A8N
ARMT
RECP
XMIT
S112
RADIO
ICS
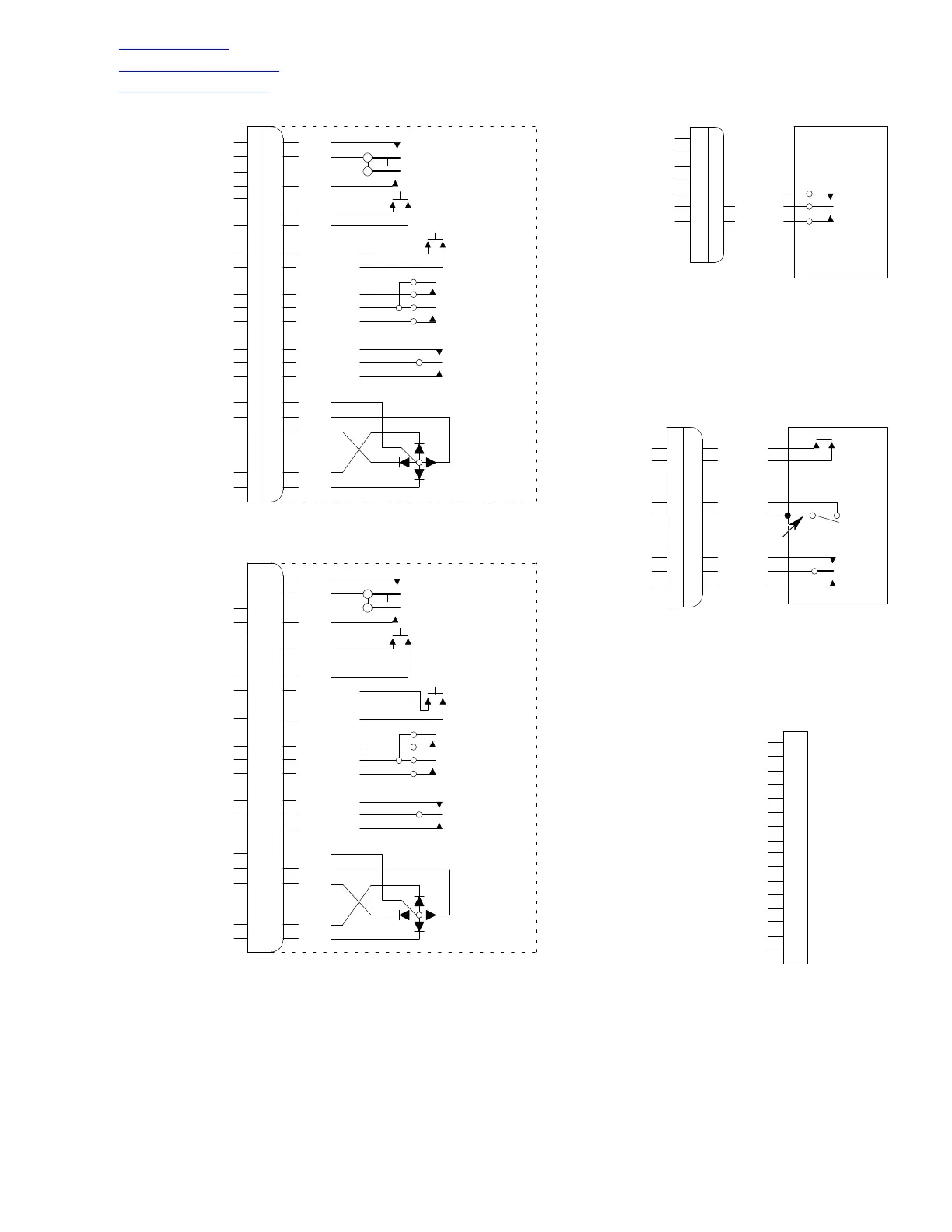
Figure 203. Fuselage Wiring Diagram, Instrument Panel with Center Console
(369D; 003 723) (Sheet 4 of 6)

Table of Contents

Other manuals for MD Helicopters 369D

Related product manuals