EasyManua.ls Logo

MD Helicopters 369D - Page 373

MD Helicopters 369D
722 pages
Print Icon
To Next Page IconTo Next Page
To Next Page IconTo Next Page
To Previous Page IconTo Previous Page
To Previous Page IconTo Previous Page
Loading...
CSP-HMI-3MD Helicopters, Inc.
MAINTENANCE MANUAL
[ Main Menu ]
[ HMI3 Book TOC ]
[ Chapter 96 TOC ]
96-02-00
Page 227
Revision 11
The information disclosed herein is proprietary to MD Helicopters, Inc.
Neither this document nor any part hereof may be reproduced or transferred to
other documents or used or disclosed to others for manufacturing or any other
purpose except as specifically authorized in writing by MD Helicopters, Inc.
Copyright © 19992016 by MD Helicopters, Inc.
TB503-13
(P9-k) P512B16
P506AF16 (CB208-2)
TB503 (CONT)
E31
(S2-2) P521A20N
E33
(DS14-2) E510A22N
E510D20N (P19-E)
F
L
A
GM
B
HN
C
J
P
D
K
R
E
F
L
A
GM
B
HN
C
J
P
D
K
R
E
GND
TST
TB505-1/2
TB505-3/4
(TB503-12K) M531C20
P514G20 (TB503-4L)
(TB503-10C) M531B20
E511F20 (TB503-11J)
28V
TST
TB505
TB503-11
(CB121-2) M506A20
P508C20 (P9-M)
TB503-12
(SP1222) L533T20
P17A20 (P9-H)
TB503-9
J501A20 (CB106-2)
(P9-b) Q501A20
TB503-10
(XDS21-S1-NO) E509A20
E509AA20 (P12-A)
G96-0022-13A
P514A20N (XDS21-S2-C)
A
B
C
DEF
GHJ
KLM
L533C20 (TB503-2E)
E567A20 (P19-B)
(DS145)
J501B20 (XDS9-S2-C)
(DS148)
J502A20 (K104-5)
L528B20 (SP14-A)
A
B
C
DEF
GH J
KLM
(CB144-2) Q515A20
(TB10-B) J508BB20
(S11-2) J508B20
M531B20 (TB505-3/4F)
Q515B20 (P9-W)
J508C20 (P9-r)
JUMPER (TB503-7L)
E520B20 (S4A-3)
A
B
C
DEF
GHJ
KLM
(P110-V) M506B20
(XDS9-NC) J503D20
(K304-5) J512J20
P513A20 (S4A-6)
P508J20 (S4A-5)
P513D20 (K103-6)
E511F20 (TB505-3/4A)
M511G20 (XDS8-C)
(CB143-2) G516A20
(TB505-1/2F) M531C20
P17H20 (K103-2)
L533Q20 BLK (SW PNL +)
L533R20 BLK (CB PNL +)
Q516B20 (P9-V)
E511B20 (XDS21-S2)
E511B20 (P12-B)
AB
CD
EF
(K103-8) P512D16
P517A16 (SP32-A)
P516A16 (P9-p)
A
B
C
DEF
GH J
KLM
(S11-1) E508A20N
(P1 SHLD) E528AA20N
(M35 GND) E556D20N
J502F20N (XDS9-C)
J509A20N (K304-7)
E528A22N (P1-C)
E529A22N (P2-A)
L506A22N (R110-1)
A
B
C
DEF
GH J
KLM
A
B
C
DEF
GH J
KLM
(SP15-A) L537Z20N
E529AA22N (P2-SHLD)
E563A22N (P12-W)
L534L20N WHT OR RED (CB PNL -)
H501B20N (E2)
F501R20N (FL100 GND)
E564E20 (TB503-7B)
E562E20 (TB503-7E)
J512E20 (TB503-4B)
(TB503-8K) E520L22
(SP82-B) E519C20
Q506C20 (TB503-4E)
(P9-X) D508A22
(TB503-8L) D508AA22
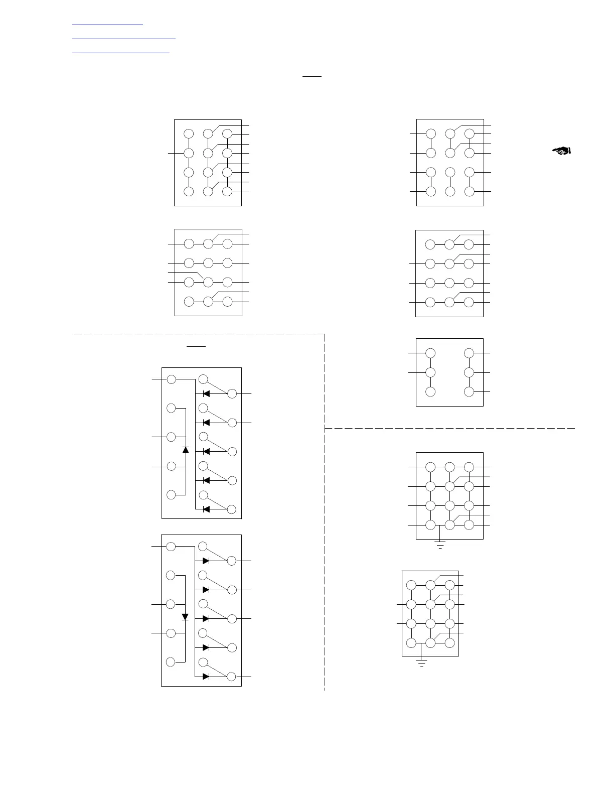
Figure 204. Console Wiring Diagram (369FF; 001 075) (Sheet 7 of 7)

Table of Contents

Other manuals for MD Helicopters 369D

Related product manuals